Запчасти John Deere 330LC, 370 149 - HEEL RACK 3340A Backhoe & Excavator Frames

Схема запчастей John Deere 330LC, 370 - 149 - HEEL RACK 3340A Backhoe & Excavator Frames
FIT
1:1
100%

Артикул

Название

Примечание

Количество

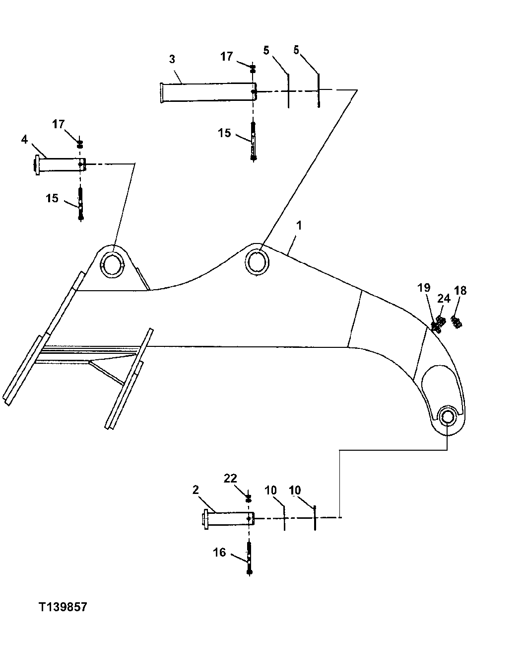
1

FFSB100070

Grapple

(HEELER)

1шт.

2

FFSB107256

Pin Fastener

(SUB FOR FFSB100071)

1шт.

3

FF105548

Pin

(SUB FOR FFSB100069 AND FFSB107206)

1шт.

4

FFSB107208

Pin Fastener

(SUB FOR FFSB100057)

1шт.

5

FFSB113080

Wear Plate

(SUB FOR TH102423 AND 4144513)(1.2 MM)

3шт.

10

4075357

Washer

66 X 120 X 1 mm (SUB FOR TH108944)

2шт.

15

19M8100

Cap Screw

M20 X 180

2шт.

16

19M7954

Cap Screw

M16 X 150

1шт.

17

14M7277

Nut

M20

4шт.

18

38H1276

Adapter Fitting

2шт.

T77858

O-Ring

18.771 X 1.778 mm ( FFSB1037 63 NOT AVAILABLE FOR SERVICE)

2шт.

T78707

Nut

30.175 mm

2шт.

19

38H1275

Adapter Fitting

2шт.

T77857

O-Ring

12.421 X 1.778 mm

2шт.

T78716

Nut

20.625 mm

2шт.

22

14M7276

Nut

M16

2шт.

24

Adapter Fitting

1шт.

Выбрано товаров: 17