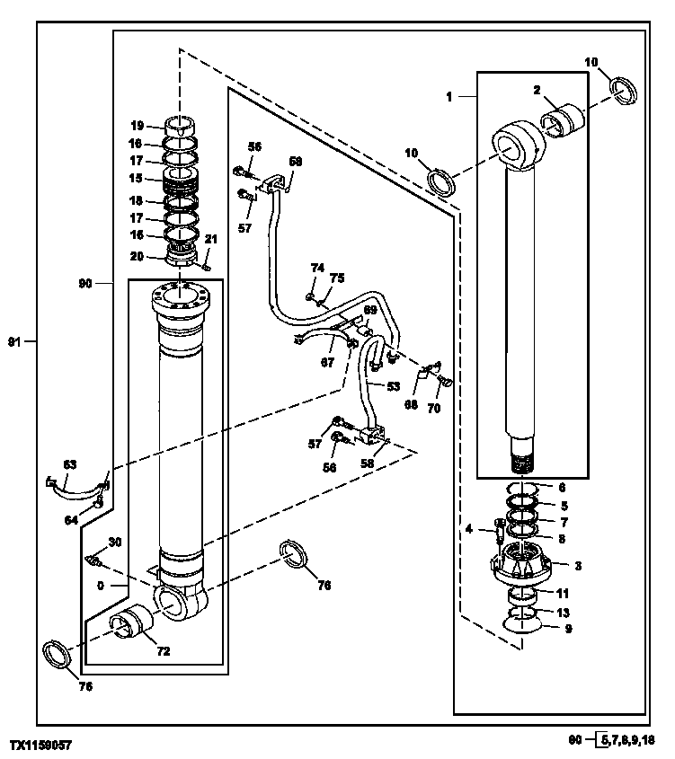
Запчасти John Deere 330LC, 370 157 - Log Loader Left Boom Cylinder 3360A Hydraulic System

Схема запчастей John Deere 330LC, 370 - 157 - Log Loader Left Boom Cylinder 3360A Hydraulic System
FIT
1:1
100%

Артикул

Название

Примечание

Количество

0

7039265

Tube

(SUB FOR FFSB107110)

1шт.

1

7037845

Rod

(SUB FOR FFSB107111)

1шт.

2

3083925

Bushing

(SUB FOR FFSB107112 ) (SUB FOR AT192320)

1шт.

3

1025101

Hydr. Cylinder Rod Guide

(SUB FOR FFSB107205 ) (SUB FOR AT219589)

1шт.

4

M342700

Screw

(SUB FOR FFSB107209 ) (SUB FOR TH111068)

8шт.

5

AT264305

Seal

(SUB FOR FFSB107210, AT250009, 4370927)

1шт.

6

4370058

Snap Ring

(SUB FOR FFSB107211 ) (SUB FOR AT250001)

1шт.

7

AT264300

Seal

(SUB FOR 4411659 ) (SUB FOR F FSB107212 ) (SUB FOR AT192601)

1шт.

8

4411656

Ring

(SUB FOR AT264299 ) (SUB FOR FFSB107213 ) (SUB FOR AT192600) (SUB FOR AT264299)

1шт.

9

AT264309

O-Ring

For Heat Problems See DTAC Solution ( SUB FOR FFSB107214, AT250098, 4393350)

1шт.

4641099

O-Ring

Heat Resistant

1шт.

10

4411613

Seal

(SUB FOR FFSB108219 ) (SUB FOR AT192608)

2шт.

11

AT264304

Bushing

(SUB FOR FFSB107216, AT250007, 4370337)

1шт.

13

4372816

Snap Ring

(SUB FOR FFSB107217 ) (SUB FOR AT250011)

1шт.

15

3080654

Piston

(SUB FOR FFSB107218 ) (SUB FOR AT219642)

1шт.

16

AT264302

Ring

(SUB FOR FFSB107226, AT250005, 4370063)

2шт.

17

AT264303

Wear Ring

(SUB FOR FFSB107228, AT250006, 4370064)

2шт.

18

AT264301

Seal

(SUB FOR FFSB107229, AT250004, 4370062)

1шт.

19

2044681

Ring

(SUB FOR FFSB107230 ) (SUB FOR AT192324)

1шт.

20

3062096

Nut

(SUB FOR FFSB107231 ) (SUB FOR AT200985)

1шт.

21

4201806

Set Screw

(SUB FOR FFSB107232 ) (SUB FOR TH110066)

1шт.

30

TH100074

Lubrication Fitting

(SUB FOR FFSB107233)

1шт.

53

8081899

Line

(SUB FOR FFSB107235)

1шт.

54

8081915

Line

(SUB FOR FFSB107234)

1шт.

56

19M8341

Screw

M12 X 45 (SUB FOR FFSB107236)

4шт.

57

19M8444

Screw

M12 X 60 (SUB FOR FFSB107237)

4шт.

58

AT264324

O-Ring

(SUB FOR FFSB107238, TH100044)

2шт.

63

3080222

Clamp

(SUB FOR FFSB107240)

1шт.

64

19M7550

Cap Screw

M10 X 35 (SUB FOR FFSB107241)

2шт.

67

8081943

Clamp

(SUB FOR FFSB107239)

1шт.

68

4229234

Clamp

(SUB FOR FFSB107242 ) (SUB FOR TH111990)

1шт.

69

4410980

Spacer

(SUB FOR FFSB107243 ) (SUB FOR AT192325)

1шт.

70

19M8348

Cap Screw

M12 X 65 (SUB FOR FFSB107244)

1шт.

72

FFSB102183

Bushing

1шт.

74

14M7275

Nut

M12 (SUB FOR FFSB107245)

1шт.

75

12H301

Lock Washer

1/2"

1шт.

76

TH103200

Seal

2шт.

80

9180582

Seal Kit

For Heat Problems See DTAC Solution (SUB FO R FFSB108220, AT264441, AT192606, AT264441)

1шт.

9257552

Seal Kit

(HEAT RESISTANT)

1шт.

90

Hydraulic Cylinder

(SUB 4656440)( 9218638 NLA)

1шт.

91

4641549

Hydraulic Cylinder

(SUB FOR FFSB104895 FFSB114758)

1шт.

Выбрано товаров: 41