Запчасти John Deere 330LC, 370 161 - DECK TO BOOM PIPING FOR BUTT-N-TOP LOADER 3360A Hydraulic System

Схема запчастей John Deere 330LC, 370 - 161 - DECK TO BOOM PIPING FOR BUTT-N-TOP LOADER 3360A Hydraulic System
FIT
1:1
100%

Артикул

Название

Примечание

Количество

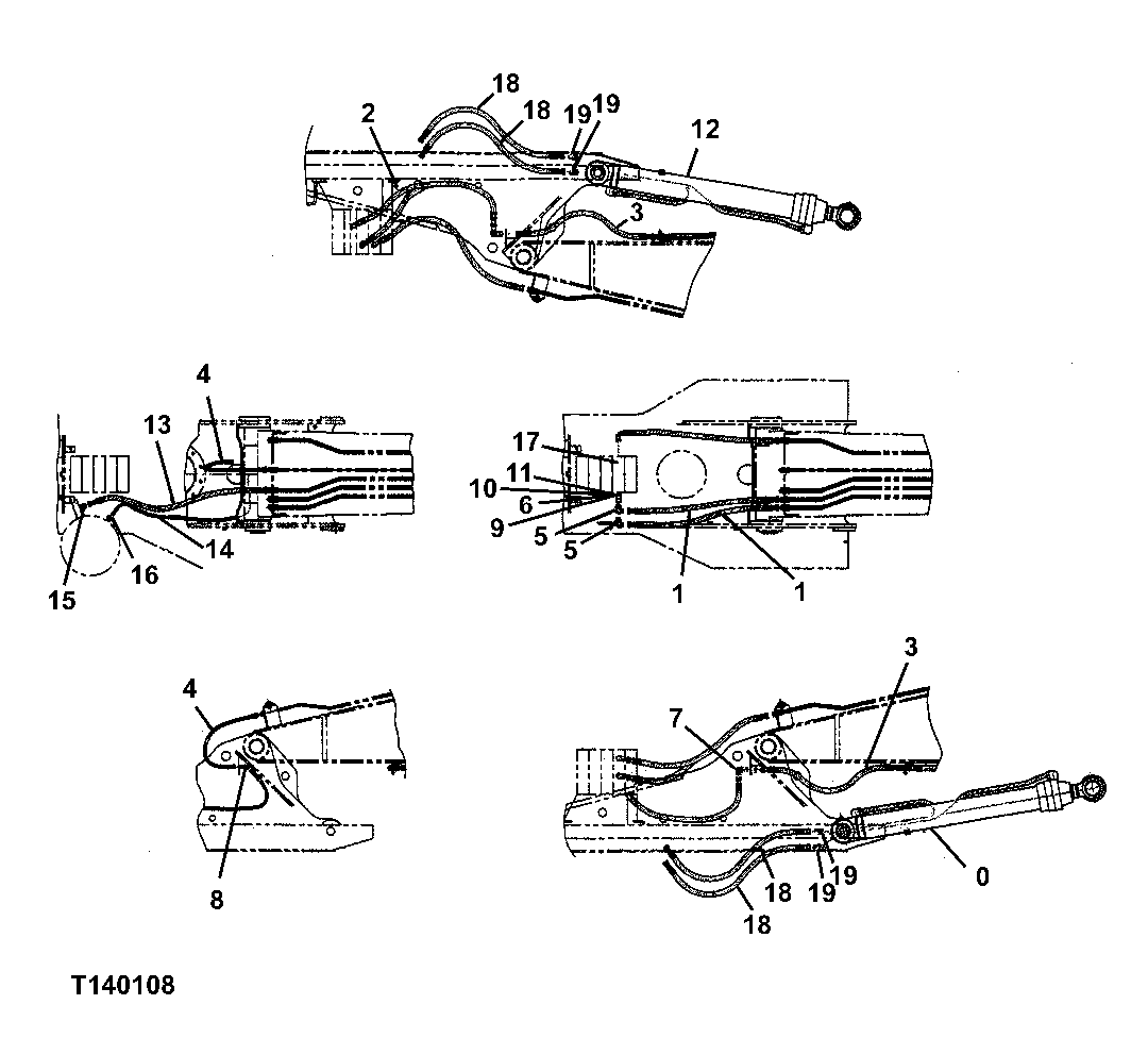
0

Hydraulic Cylinder

(SUB 4656440)(RIGHT BOOM CYLIND ER) (SEE SEPARATE PAGE FOR DETAI L) ( FFSB104896 OR 9218638 NLA)

1шт.

1

FFSB102509

Hydraulic Hose

2шт.

2

FFSB102165

Hydraulic Hose

(68.5 INCHES)

1шт.

3

FFSB102166

Hydraulic Hose

2шт.

4

FFSB102167

Hydraulic Hose

1шт.

5

Adapter Fitting

( FFSB107329 NO LONGER AVAILABLE)

2шт.

X16C5OLO-S

Elbow Fitting

(SUB FOR FFSB103495)

2шт.

X6F5OLO-S

Adapter Fitting

(SUB FOR FFSB106529)

2шт.

6

FFSB102168

Adapter Fitting

2шт.

7

38H1456

Elbow Fitting

(SUB FOR FFSB102228)

2шт.

T78715

Nut

36.525 mm

2шт.

T76938

O-Ring

23.520 X 1.780 mm

2шт.

8

38H1321

Elbow Fitting

(SUB FOR FFSB104346)

2шт.

T78716

Nut

20.625 mm

2шт.

T77857

O-Ring

12.421 X 1.778 mm

2шт.

9

H61354

Flange Fitting

4шт.

10

19M7576

Screw

M10 X 30 (SUB FOR J781030)

8шт.

11

T78313

O-Ring

2шт.

12

Hydraulic Cylinder

(SUB 4656440)(LEFT BOOM CYLIND ER) (SEE SEPARATE PAGE FOR DETA IL) ( FFSB104895 OR 9218638 NLA )

1шт.

13

FFSB102512

Hydraulic Hose

1шт.

14

FFSB102511

Hydraulic Hose

1шт.

15

4189535

Adapter Fitting

(SUB FOR AT114853)

1шт.

16

AN33434

Tee Fitting

1шт.

17

4419373

Pressure Relief Valve

(SUB FOR FFSB105643 ) (SUB FOR AT185397)

1шт.

18

FFSB105555

Hydraulic Hose

(37 INCHES)

4шт.

19

X16F5OLO-S

Adapter Fitting

(SUB FOR FFSB102146)

4шт.

Выбрано товаров: 26