Запчасти John Deere 330LC, 370 187 - NEUTRALIZER PIPING FOR ROADBUILDER WITH 48 INCH RISER 3360D Hydraulic System (Roadbuilder Cab)

Схема запчастей John Deere 330LC, 370 - 187 - NEUTRALIZER PIPING FOR ROADBUILDER WITH 48 INCH RISER 3360D Hydraulic System (Roadbuilder Cab)
FIT
1:1
100%

Артикул

Название

Примечание

Количество

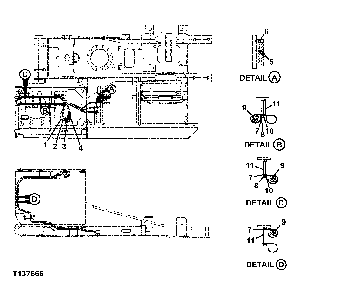
1

FFSB108536

Hydraulic Hose

1шт.

2

FFSB108537

Hydraulic Hose

1шт.

3

FFSB108535

Hydraulic Hose

1шт.

4

FFSB108534

Hydraulic Hose

1шт.

5

R27238

Fitting

2шт.

6

R52831

Fitting

1шт.

7

24M7028

Washer

10.500 X 20 X 2 mm (SUB FOR FFSB107142)

11шт.

8

12M7066

Lock Washer

10 mm (SUB FOR FFSB107409)

3шт.

9

R89288

Clamp

( FFSB105282 NO LONGER AVAILABLE)

6шт.

10

19M8584

Cap Screw

M10 X 30 (SUB FOR FFSB105231)

3шт.

11

FFSB107369

Nut

4шт.

Выбрано товаров: 0