Запчасти John Deere 330LC, 370 33 - ANTI-SLIP MATS ON FORESTRY CAB UNIT 1320C Vehicle Finish & Trim (Forestry)

Схема запчастей John Deere 330LC, 370 - 33 - ANTI-SLIP MATS ON FORESTRY CAB UNIT 1320C Vehicle Finish & Trim (Forestry)
FIT
1:1
100%

Артикул

Название

Примечание

Количество

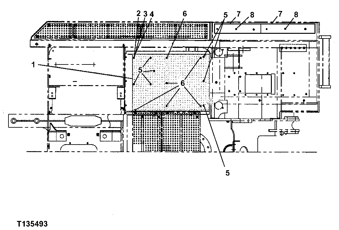
1

FFSB107734

Panel

1шт.

2

19M7383

Cap Screw

M10 X 55

1шт.

3

24M7028

Washer

10.500 X 20 X 2 mm

1шт.

4

12M7066

Lock Washer

10 mm

1шт.

5

T165889

Screw

M10 X 30

7шт.

6

19M8324

Cap Screw

M10 X 16

6шт.

12M7066

Lock Washer

10 mm

6шт.

7

FFSB107729

Plate

2шт.

8

L100285

Screw

M10 X 20

6шт.

Выбрано товаров: 0