Качественные детали и логистика
Оригинальные и аналоговые запчасти с доставкой по России, Казахстану и Беларуси
©2022 PartSell ООО "Система" ИНН 2463123282 ОГРН 1212400004838
Центральный офис: г. Красноярск, Академика Киренского, д.87, пом.4
Телефон: 8 (800) 777-65-74 Email: zakaz@partsell.ru
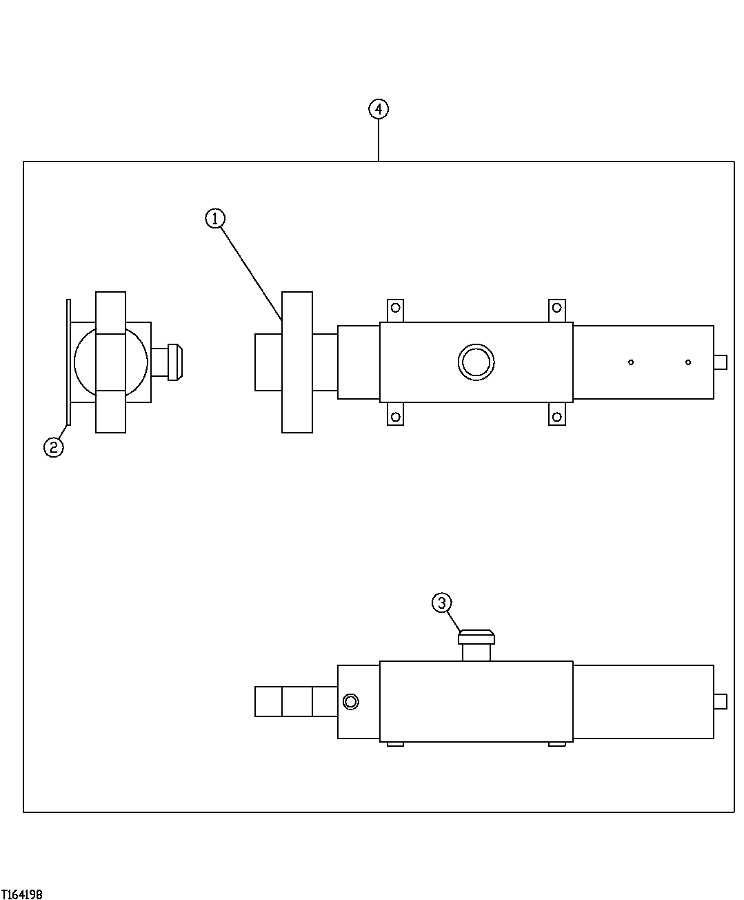
45 - CAB TILT POWER PACK MOTOR, BRACKET AND DIPSTICK
№
Артикул
Название
Примечание
Количество
1
Power Supply
( FFSB102284 NLA)
1шт.
2
FFSB104998
Bracket
2шт.
3
FFSB108889
Dipstick
4
FFSB104999
Выбрано товаров: 0