Запчасти John Deere 330LC, 370 70 - REAR ENTRY CAB UPPER WINDSHIELD WIPER 1810B Operator Enclosure (Rear Entry)

Схема запчастей John Deere 330LC, 370 - 70 - REAR ENTRY CAB UPPER WINDSHIELD WIPER 1810B Operator Enclosure (Rear Entry)
FIT
1:1
100%

Артикул

Название

Примечание

Количество

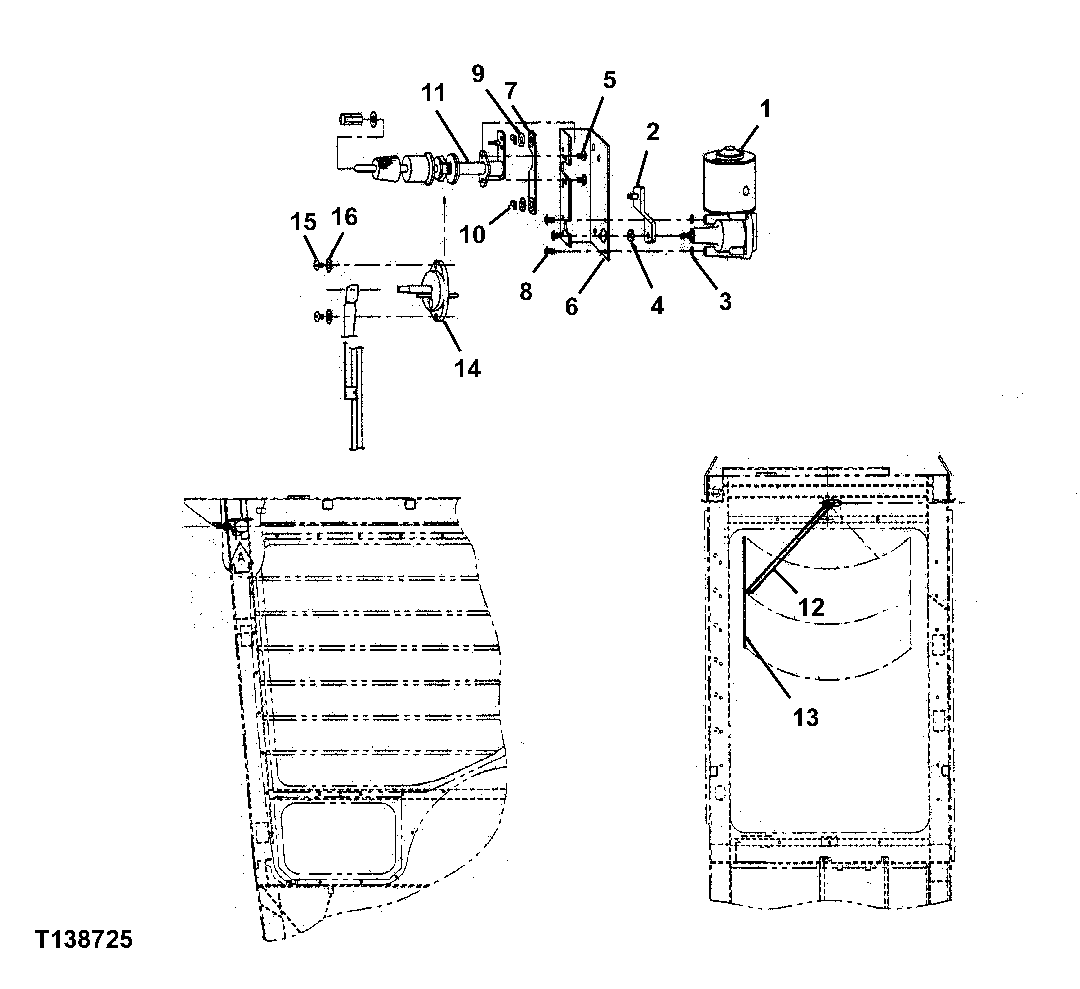
1

FFSB115016

Wiper Motor

SUB FOR FFSB107836

1шт.

2

FFSB102153

Wiper Arm

1шт.

3

24M7054

Washer

6.400 X 12 X 1.600 mm SUB FOR FFSB107839

2шт.

4

14H786

Nut

1/4"

1шт.

5

21H1298

Screw

0.190" X 3/8" FFSB1078 37 NO LONGER AVAILABLE

2шт.

12M7060

Washer

5.300 mm

2шт.

6

FFSB107841

Bracket

1шт.

7

FFSB107858

Link

1шт.

8

M42626

Bolt

FFSB107838 NO LONGER AVAILABLE

3шт.

9

FFSB107852

Spacer

2шт.

10

FFSB107840

Clip

2шт.

11

FFSB102154

Shaft

1шт.

12

FFSB107451

Wiper Arm

Contains Mounting Hardwar e, Not Serviced Separately

1шт.

13

FFSB107452

Wiper Blade

1шт.

14

FFSB107870

Adapter Fitting

1шт.

15

19H3005

Cap Screw

1/4" X 1" SUB FOR FFSB107868

2шт.

16

12H302

Lock Washer

1/4"

2шт.

Выбрано товаров: 17