Качественные детали и логистика
Оригинальные и аналоговые запчасти с доставкой по России, Казахстану и Беларуси
©2022 PartSell ООО "Система" ИНН 2463123282 ОГРН 1212400004838
Центральный офис: г. Красноярск, Академика Киренского, д.87, пом.4
Телефон: 8 (800) 777-65-74 Email: zakaz@partsell.ru
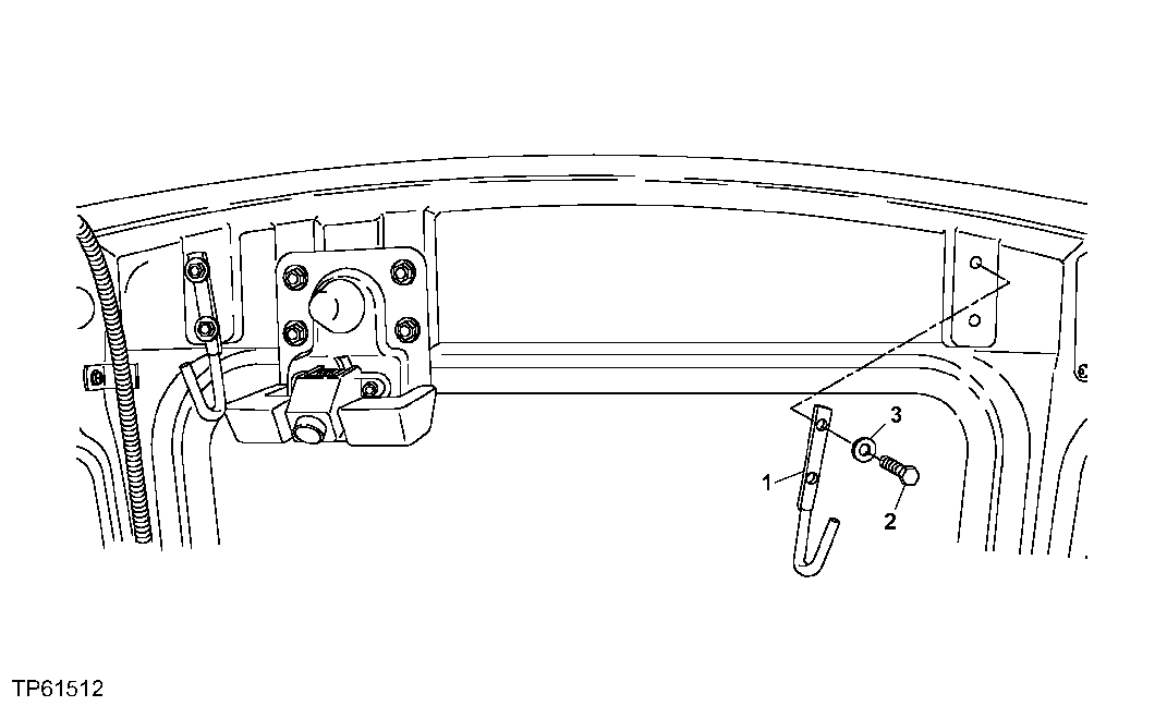
144 - J HOOKS
№
Артикул
Название
Примечание
Количество
1
AT186110
Hook
2шт.
2
19M8425
Cap Screw
M6 X 16
4шт.
3
24H1290
Washer
21/64" X 3/4" X 0.035"
Выбрано товаров: 0