Качественные детали и логистика
Оригинальные и аналоговые запчасти с доставкой по России, Казахстану и Беларуси
©2022 PartSell ООО "Система" ИНН 2463123282 ОГРН 1212400004838
Центральный офис: г. Красноярск, Академика Киренского, д.87, пом.4
Телефон: 8 (800) 777-65-74 Email: zakaz@partsell.ru
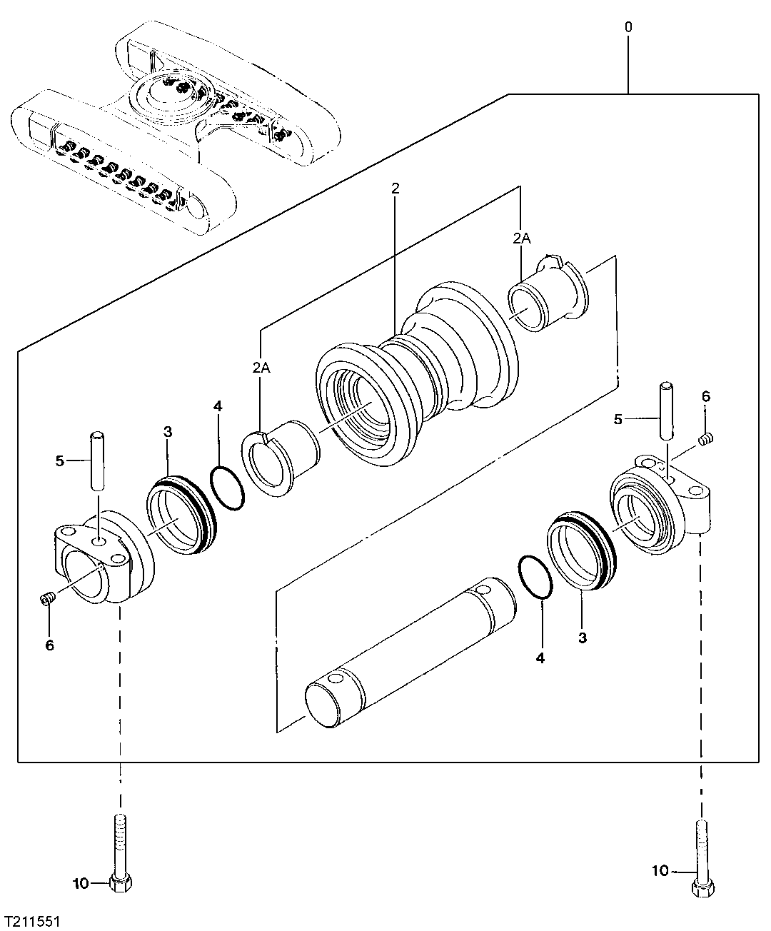
7 - LOWER TRACK ROLLER
№
Артикул
Название
Примечание
Количество
0
AT314421
Bottom Roller
SUB FOR AT250257 OR 9168173
18шт.
2
Roller
9168671 NLA
1шт.
2A
Bushing
T210829 AND 3081250 NLA
2шт.
3
AT180017
Seal
SUB FOR TH100433
4
CH14671
Packing
5
T210830
Pin
SUB FOR TH103158 OR 4137684
6
942011
Fitting Plug
SUB FOR 94-2011 AND TH100434
10
19M7963
Cap Screw
M20 X 100
72шт.
Выбрано товаров: 0