Запчасти John Deere 30LCR 209 - QUICK LATCH ASSEMBLY 3302 Bucket With Teeth

Схема запчастей John Deere 30LCR - 209 - QUICK LATCH ASSEMBLY 3302 Bucket With Teeth
FIT
1:1
100%

Артикул

Название

Примечание

Количество

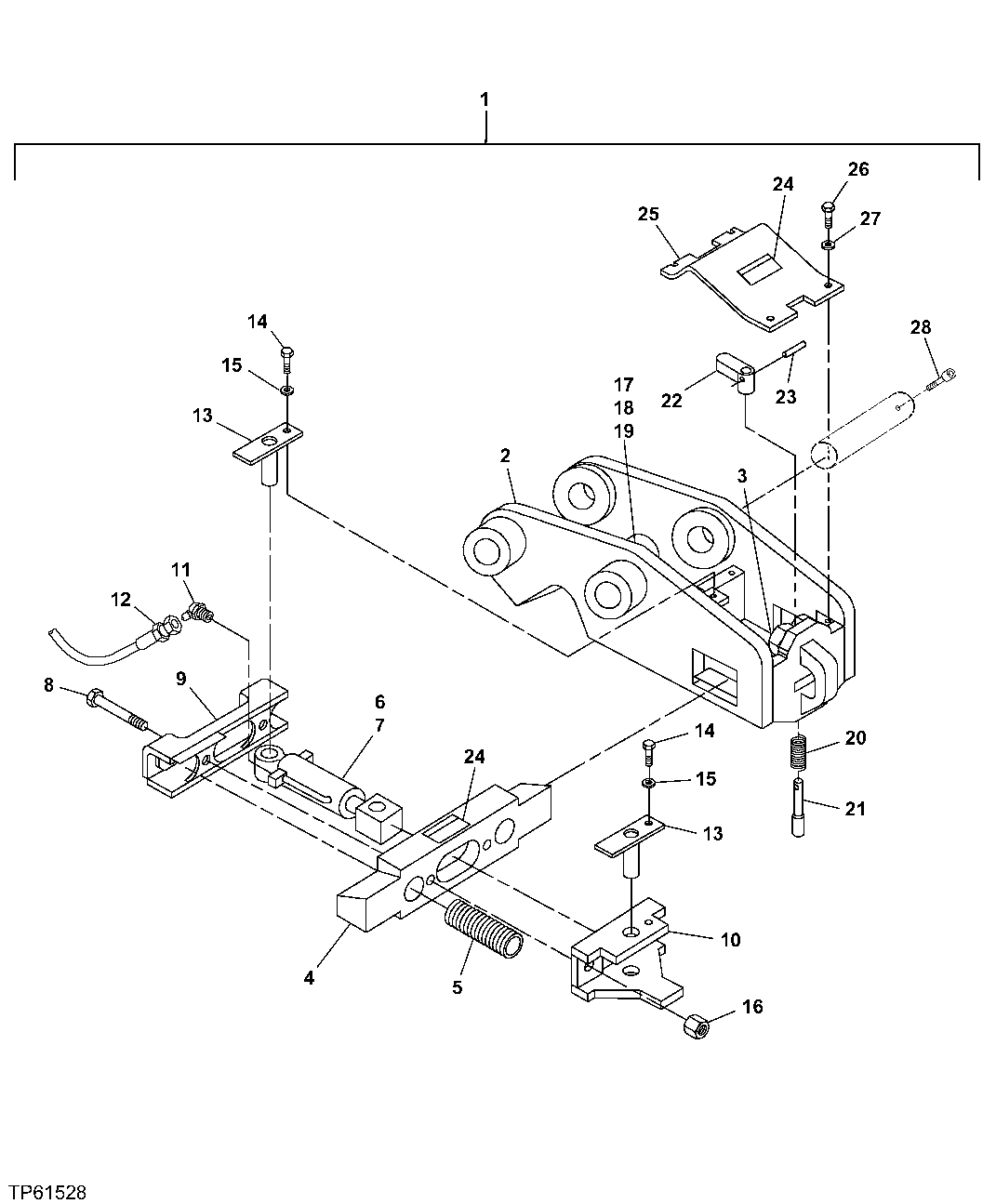
1

C909246

Latch

LATCH ASSEMBLY COMPLETE

1шт.

2

C909244

Frame

1шт.

3

C259928

Lubrication Fitting

1шт.

4

C328405

Wedge

1шт.

5

C37635

Spring

2шт.

6

C623175

Hydraulic Cylinder

1шт.

7

C33804

Seal Kit

1шт.

8

C257432

Bolt

2шт.

9

C328420

Bracket

1шт.

10

C328436

Bracket

1шт.

11

C37598

Elbow Fitting

2шт.

12

C328428

Hose

2шт.

13

C37613

Pin

2шт.

14

C257509

Cap Screw

2шт.

15

C259170

Lock Washer

2шт.

16

C257433

Nut

2шт.

17

C30209

Clamp

1шт.

18

C30210

Cover

1шт.

19

C30211

Bolt

1шт.

20

C37756

Spring

1шт.

21

C37741

Pin

1шт.

22

C37747

Handle

1шт.

23

C259511

Spring Pin

1шт.

24

C37693

Decals

2шт.

25

C328467

Cover

1шт.

26

C257541

Cap Screw

4шт.

27

C259174

Lock Washer

4шт.

28

C257431

Cap Screw

2шт.

Выбрано товаров: 28