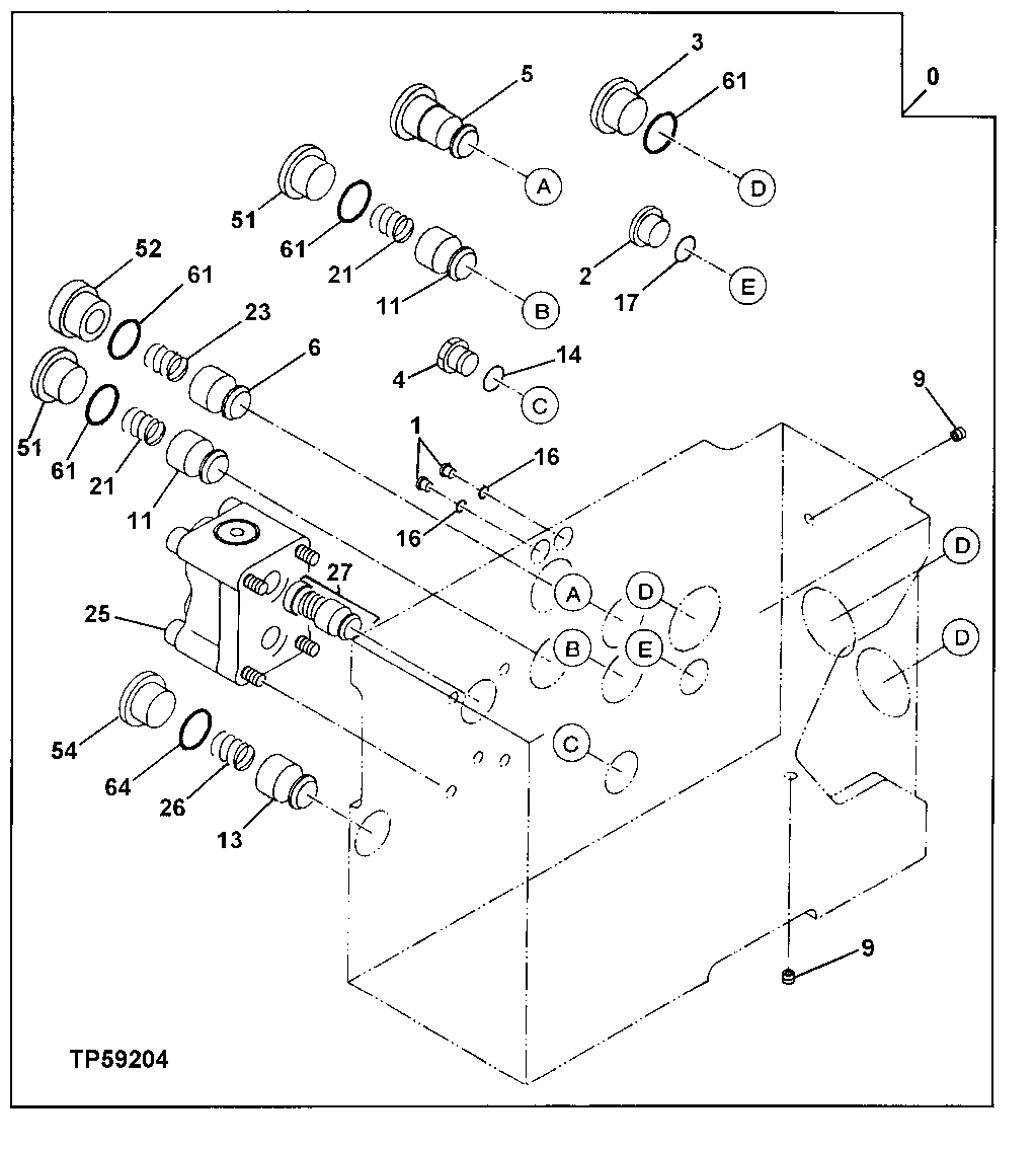
Запчасти John Deere 30LCR 237 - CONTROL VALVE 3360 Hydraulic System

Схема запчастей John Deere 30LCR - 237 - CONTROL VALVE 3360 Hydraulic System
FIT
1:1
100%

Артикул

Название

Примечание

Количество

0

4363127

Hyd Actuated Control Valve

(SUB FOR AT250457 AND 4363127EX)(CONTAINS ALL ITEMS ON THIS PAGE - ADDITIONAL COMPONE NTS LISTED ON PREVIOUS AND FOLLOWING PAGES)

1шт.

1

0719004

Fitting Plug

(SUB FOR AT219523)

2шт.

2

0629404

Fitting Plug

(SUB FOR AT213630)

1шт.

3

0697911

Fitting Plug

(SUB FOR AT219506)

3шт.

4

AT219507

Fitting Plug

1шт.

5

0816601

Valve

(SUB FOR 0719203)

1шт.

6

0719109

Poppet

(SUB FOR AT219540)

1шт.

9

0451028

Fitting Plug

(SUB FOR AT201622)

2шт.

11

0719107

Poppet

(SUB FOR AT219538)

2шт.

13

0719204

Poppet

(SUB FOR AT219553)

1шт.

14

CH11570

O-Ring

13.800 X 2.400 mm (0.543" X 3/32")

1шт.

16

4506408

O-Ring

7.800 X 1.900 mm (0.307" X 0.075") (SUB FOR TH101490)

2шт.

17

M800650

Packing

1шт.

21

0719110

Spring

(SUB FOR AT219541)

2шт.

23

0719112

Spring

(SUB FOR AT219543)

1шт.

25

0719201

Flow Control Hyd. Valve

(SUB FOR AT219550)

1шт.

26

0719205

Spring

(SUB FOR AT219554)

1шт.

27

0719202

Flow Control Hyd. Valve

(SUB FOR AT219551)

1шт.

51

0719114

Fitting Plug

(SUB FOR AT219545)

2шт.

52

0719115

Fitting Plug

(SUB FOR AT219546)

1шт.

54

0719003

Fitting Plug

(SUB FOR AT219522)

1шт.

61

AT318035

O-Ring

(SUB FOR 4506424, TH100055)

6шт.

64

CH12329

Packing

1шт.

Выбрано товаров: 23