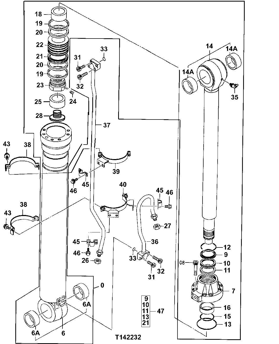
Запчасти John Deere 30LCR 262 - Arm Cylinder (021765 - ) 3360 Hydraulic System

Схема запчастей John Deere 30LCR - 262 - Arm Cylinder (021765 - ) 3360 Hydraulic System
FIT
1:1
100%

Артикул

Название

Примечание

Количество

0

PG200674J

Hydraulic Cylinder Reman

SUB FOR 9264717, AT264200 OR 9195062

1шт.

9206360EX

Hydraulic Cylinder

1шт.

6

Hydraulic Cylinder Barrel

SUB 4646010, (2) 30884 74, 8079073 AND 8079076

1шт.

4646010

Hydraulic Cylinder Barrel

1шт.

4646010

Hydraulic Cylinder Barrel

SUB FOR PG201469

1шт.

6A

4381859

Bushing

SUB FOR AT250029

2шт.

7

1025101

Hydr. Cylinder Rod Guide

SUB FOR AT219589

1шт.

8

M342700

Screw

M22 X 80 SUB FOR TH111068

8шт.

9

AT264305

Seal

SUB FOR AT250009, 4370927

1шт.

10

AT264300

Seal

SUB FOR 4411659, AT250003

1шт.

11

4411656

Ring

SUB FOR AT264299, AT250002

1шт.

12

4370058

Snap Ring

SUB FOR AT250001

1шт.

13

AT264309

O-Ring

FOR HEAT PROBLEMS SEE DTAC SOL UTION SUB FOR AT250098, 4393350

1шт.

4641099

O-Ring

Heat Resistant

1шт.

14

7037432

Rod

SUB FOR AT193486 OR 7033936

1шт.

14A

4381859

Bushing

SUB FOR AT250029

2шт.

15

4372816

Snap Ring

SUB FOR AT250011

1шт.

16

AT264304

Bushing

SUB FOR AT250007, 4370337

1шт.

18

2041632

Ring

SUB FOR AT192512

1шт.

19

AT264302

Ring

SUB FOR AT250005, 4370063

2шт.

20

AT264303

Wear Ring

SUB FOR AT250006, 4370064

2шт.

21

AT264301

Seal

SUB FOR AT250004, 4370062

1шт.

22

3080654

Piston

SUB FOR AT219642

1шт.

23

3062096

Nut

SUB FOR AT200985

1шт.

24

4201806

Set Screw

M12 X 20 SUB FOR TH110066

1шт.

25

3079648

Ring

SUB FOR AT193487

1шт.

26

4260204

Nut

SUB FOR AT219663

1шт.

27

4260205

Nut

SUB FOR AT219664

1шт.

28

4387203

Plug

SUB FOR AT185414

1шт.

31

19M8341

Screw

M12 X 45

4шт.

32

19M8444

Screw

M12 X 60

4шт.

33

AT264324

O-Ring

SUB FOR TH100044

2шт.

35

T116334

Lubrication Fitting

1шт.

36

8070112

Oil Line

SUB FOR AT250223

1шт.

37

8070113

Oil Line

SUB FOR AT250224

1шт.

38

3080222

Clamp

USE WITH 9195078; SUB FOR AT219641

2шт.

3088474

Clamp

USE WITH 4646010

2шт.

39

8068103

Clamp

USE WITH 9195078; SUB FOR AT250199

1шт.

8079073

Clamp

USE WITH 4646010

1шт.

40

8068102

Clamp

USE WITH 9195078; SUB FOR AT250198

1шт.

8079076

Clamp

USE WITH 4646010

1шт.

43

19M7550

Cap Screw

M10 X 35

4шт.

12M7066

Lock Washer

10 mm

4шт.

45

4174241

Clamp

SUB FOR TH110059

3шт.

46

19M7402

Cap Screw

M10 X 25

6шт.

12M7066

Lock Washer

10 mm

6шт.

47

9180582

Seal Kit

FOR HEAT PROBLEMS SEE DTAC SOLUTION SUB FOR AT250268 OR AT264441; ALSO INCLUDES AT280442

1шт.

9257552

Seal Kit

Heat Resistant

1шт.

Выбрано товаров: 48