Запчасти John Deere 30LCR 46 - HYDRAULIC ANEROID ACTIVATOR 0400 Engine 6081HT001-RG26768 6081HT001

Схема запчастей John Deere 30LCR - 46 - HYDRAULIC ANEROID ACTIVATOR 0400 Engine 6081HT001-RG26768 6081HT001
FIT
1:1
100%

Артикул

Название

Примечание

Количество

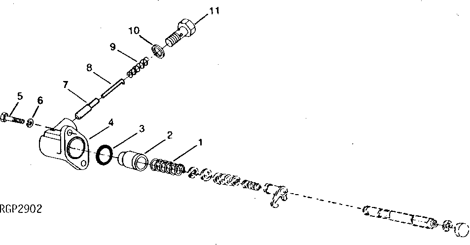
1

R63059

Spring

1шт.

2

R63060

Piston

1шт.

3

R67886

O-Ring

1шт.

4

R67885

Housing

1шт.

5

R63063

Screw

2шт.

6

R54880

Lock Washer

2шт.

7

R62104

Valve

1шт.

8

R62105

Pin Fastener

1шт.

9

R26373

Spring

1шт.

10

R62107

Washer

2шт.

11

R62106

Screw

1шт.

Выбрано товаров: 11