Запчасти John Deere 30LCR 73 - D10W HEATER KIT 0505 Cold Weather Starting Aids

Схема запчастей John Deere 30LCR - 73 - D10W HEATER KIT 0505 Cold Weather Starting Aids
FIT
1:1
100%

Артикул

Название

Примечание

Количество

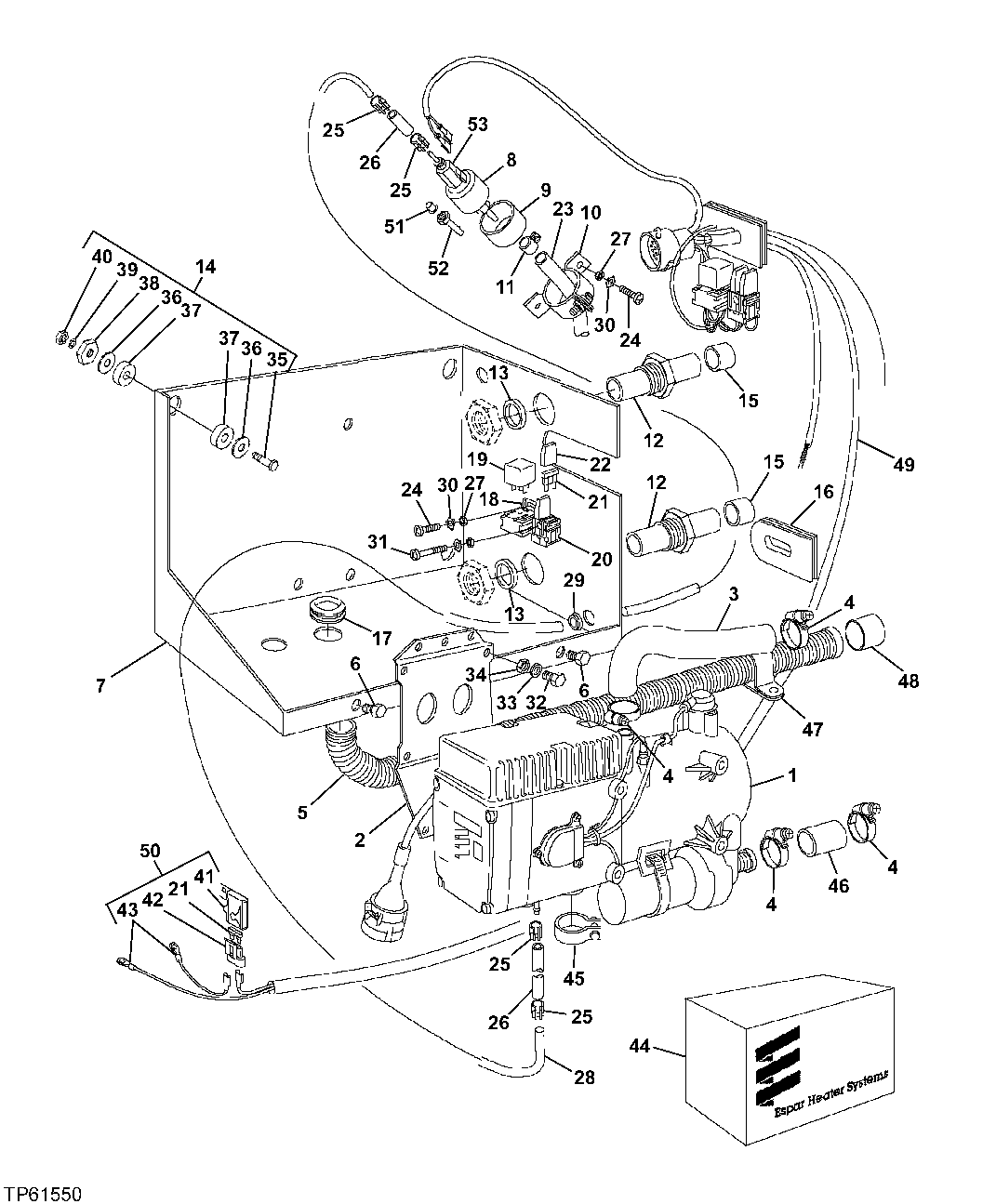
1

AT186577

Kit

(DEERE DEALER ORDER DI RECT FROM ACTIVE GEAR)

1шт.

2

25181680001

Bracket

1шт.

3

CA01123

Hose

1шт.

4

CA110046

Clamp

17-32MM, SPRING LOADED

4шт.

5

251816800800

Exhaust Pipe

1шт.

6

CA300102-001

Bolt

5/16 X 1/2, STAINLESS

2шт.

7

CA010069

Box

1шт.

8

251963460000

Fuel Pump

1шт.

9

201449001001

Ring

1шт.

10

251156200011

Holder

1шт.

11

102063011098

Clamp

11M

1шт.

12

CA011011

Connector

3/4"

2шт.

13

CA300311

Washer

2шт.

14

CA000061

Mounting Parts

4шт.

15

CA011016

Cap

2шт.

16

CA011061

Grommet

1шт.

17

251216880301

Seal

1шт.

18

20300085

Blower

1шт.

19

2030066

Relay

1шт.

20

20431005

Fuse Holder

1шт.

21

CA107002

Fuse

15 AMP

2шт.

20400079

Fuse

5 AMP

1шт.

22

20431005

Cover

FUSE HOLDER

1шт.

23

36075350

Fuel Line

1шт.

24

CA300103

Bolt

M6 X 12

3шт.

25

102063009098

Clamp

9MM

4шт.

26

36075300

Fuel Line

3.5MM

2шт.

27

CA300208

Hose

3шт.

28

09031117

Fuel Line

2MM

1шт.

29

201280090103

Grommet

1шт.

30

CA300308

Washer

6MM

3шт.

31

CA300115-001

Screw

M3 X 30

1шт.

32

CA300137

Bolt

M8 X 16

4шт.

33

CA300309

Washer

8MM

4шт.

34

CA300029

Nut

8MM

4шт.

35

CA300128

Bolt

M8 X 50

4шт.

36

CA300305

Washer

5/16" X 1.25"

8шт.

37

CA300128

Rubber Mount

8MM

8шт.

38

CA300333

Washer

THREADED

4шт.

39

CA300302

Spring Washer

8MM

4шт.

40

CA300209

Nut

8MM

4шт.

41

CA107009

Cover

FUSE HOLDER

1шт.

42

CA107005

Base

FUSE HOLDER

1шт.

43

CA190014

Terminal

RING, 3/8", AWG 10-12

1шт.

44

CA010070

Cover

1шт.

45

15210061

Clamp

EXHAUST 30-33MM

1шт.

46

CA011023

Hose

COOLANT

1шт.

47

15210043

Clamp

34MM

1шт.

48

251785800200

Sleeve

1шт.

49

CA160905

Wiring Harness

24V

1шт.

50

CA160901-001

Wiring Harness

POWER PIG TAIL 24V

1шт.

51

201312000006

Wiring Harness

1шт.

52

201621450002

Filter

1шт.

53

32031120

Boot

1шт.

Выбрано товаров: 54