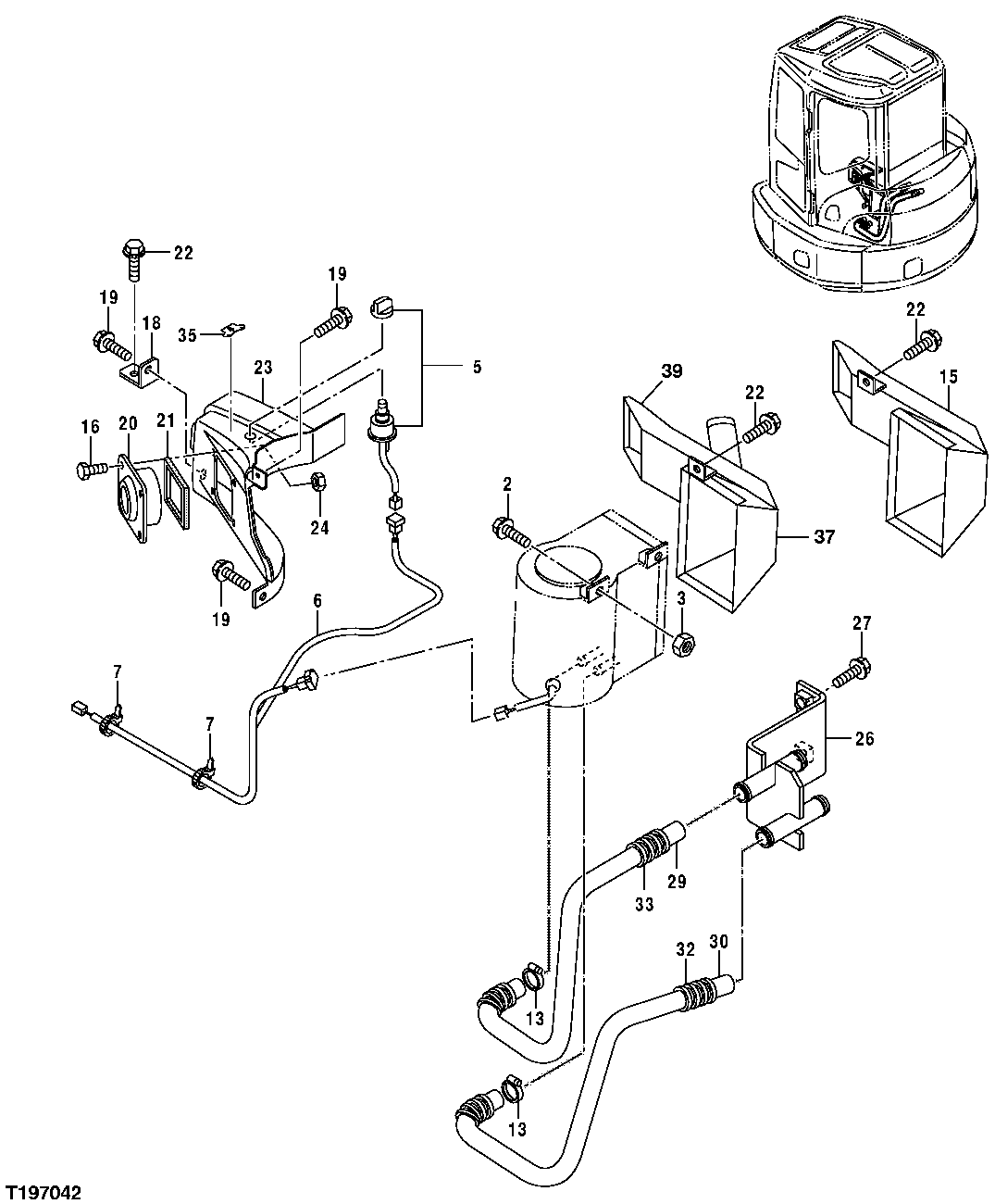
Запчасти John Deere 554 91 - HEATER HOSES (CONTINUED) 1830 HEATING AND AIR CONDITIONING

Схема запчастей John Deere 554 - 91 - HEATER HOSES (CONTINUED) 1830 HEATING AND AIR CONDITIONING
FIT
1:1
100%

Артикул

Название

Примечание

Количество

2

19M7938

Cap Screw

M10 X 20 SUB FOR J051020

4шт.

24M7096

Washer

10.500 X 18 X 1.600 mm

4шт.

12M7066

Lock Washer

10 mm

4шт.

3

14M7274

Nut

M10 SUB FOR J231210

4шт.

5

4294504

Temperature Switch

1шт.

6

4459839

Wiring Harness

1шт.

7

H77698

Tie Band

3шт.

13

FF500010

Hose Clamp

SUB FOR AA34965, SUB FOR 4514699

2шт.

15

6020820

Air Duct

1шт.

16

21M7293

Screw

M4 X 16 SUB FOR M470416

4шт.

18

9759135

Bracket

1шт.

19

19M7932

Cap Screw

M8 X 16 SUB FOR J090816

3шт.

24M7055

Washer

8.400 X 16 X 1.600 mm

3шт.

Washer

12M7065 NLA

3шт.

20

4468859

Grille

1шт.

21

4477254

Isolator

1шт.

22

19M7881

Screw

M8 X 20 SUB FOR J090820 OR J020820

2шт.

Washer

12M7065 NLA

2шт.

24M7055

Washer

8.400 X 16 X 1.600 mm

2шт.

23

6020758

Cover

1шт.

24

14M7139

Nut

M4 SUB FOR J231104

4шт.

26

8090144

Bracket

1шт.

27

19M7881

Screw

M8 X 20 SUB FOR J090820 OR J020820

2шт.

Washer

12M7065 NLA

2шт.

24M7055

Washer

8.400 X 16 X 1.600 mm

2шт.

29

4475415

Bulk Hose

1шт.

30

Bulk Hose

4313181 NO LONGER AVAILABLE F OR SERVICE, FURNISH TY22326 BUL K MATERIAL CUT TO 700 MM LENGTH

1шт.

32

4484847

Sleeve

1шт.

33

4475423

Sleeve

SUB FOR 4475417, CTL 1054MM

1шт.

35

4425953

Label

1шт.

37

4605002

Air Duct

1шт.

39

1030633

Air Duct

1шт.

Выбрано товаров: 0