Запчасти John Deere 554 129 - HYDRAULIC BREAKER BRACKET 3302 Buckets

Схема запчастей John Deere 554 - 129 - HYDRAULIC BREAKER BRACKET 3302 Buckets
FIT
1:1
100%

Артикул

Название

Примечание

Количество

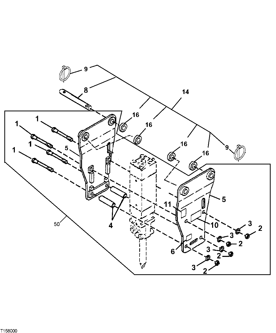
1

19H3529

Cap Screw

1" X 8"

4шт.

2

14H1048

Nut

1"

4шт.

3

24M7294

Washer

26 X 39 X 4 mm

4шт.

4

KV17493

Bushing

HB50

2шт.

Bushing

HB75, KV17494 NLA

2шт.

5

KV21386

Plate

SUB FOR KV17490, MATCHED SET, HB50

1шт.

KV20304

Plate

MATCHED SET, HB75

1шт.

6

ES10894

Label

FLYING DEBRIS

2шт.

8

T185390

Pin

2шт.

9

AH89461

Pin Fastener

4шт.

10

KV22128

Label

SUB FOR KV16407, WORKSITE PRO - HB50

2шт.

KV22129

Label

SUB FOR KV16408, WORKSITE PRO - HB75

2шт.

11

N279497

Label

WARNING, ACCUMULATOR

2шт.

14

Pin & Bushing Kit

AT190487 NLA WHOLEGOODS

1шт.

16

T185391

Bushing

4шт.

50

Field Installation Kit

WHOLEGOODS, AT280183 NO LONGER AVAIL ABLE, HB50 HYDRAULIC BREAKER, ADDITIO NAL COMPONENTS LISTED ON SEPARATE PAG E

1шт.

Field Installation Kit

WHOLEGOODS, AT280191 NO LONGER AVAIL ABLE, HB75 HYDRAULIC BREAKER, ADDITIO NAL COMPONENTS LISTED ON SEPARATE PAG E

1шт.

Выбрано товаров: 17