Запчасти John Deere 554 137 - AUGER MOTOR (COMPONENTS) 3302 Buckets

Схема запчастей John Deere 554 - 137 - AUGER MOTOR (COMPONENTS) 3302 Buckets
FIT
1:1
100%

Артикул

Название

Примечание

Количество

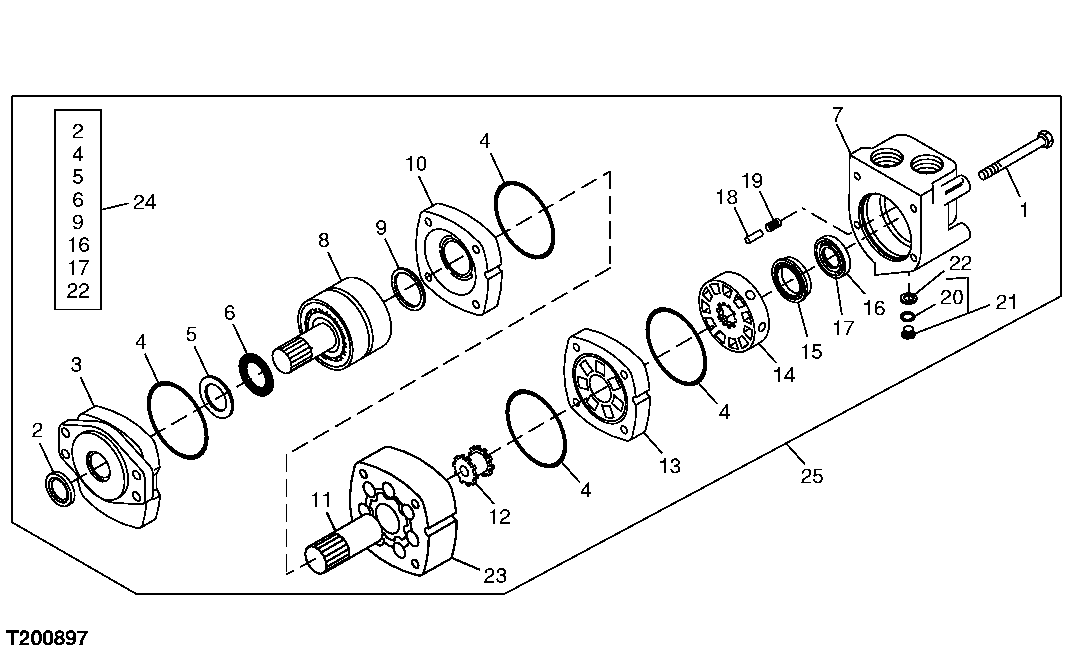
1

KV18209

Screw

4шт.

2

Seal

1шт.

3

Housing

1шт.

4

Seal

4шт.

5

Washer

1шт.

6

Seal

1шт.

7

Housing

1шт.

8

AT83942

Shaft

1шт.

9

Seal

1шт.

10

Wear Plate

1шт.

11

T79144

Drive

1шт.

12

T60060

Drive

1шт.

13

T82024

Plate

1шт.

14

T82025

Valve

1шт.

15

T82026

Plate

1шт.

16

Seal

1шт.

17

Seal

1шт.

18

T60056

Pin

2шт.

19

T60055

Spring

2шт.

20

R28782

O-Ring

1шт.

21

AN122518

Fitting Plug

1шт.

22

Seal

1шт.

23

Plate

1шт.

24

AT83941

Seal Kit

1шт.

25

KV15981

Motor

1шт.

Выбрано товаров: 25