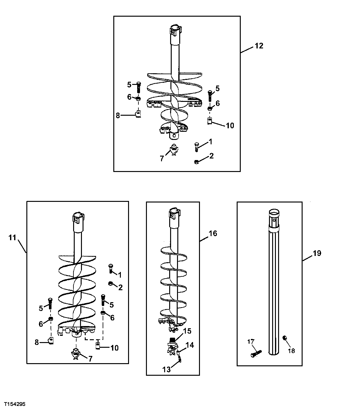
Запчасти John Deere 554 138 - BIT (AUGER) 3302 Buckets

Схема запчастей John Deere 554 - 138 - BIT (AUGER) 3302 Buckets
FIT
1:1
100%

Артикул

Название

Примечание

Количество

1

19H3404

Cap Screw

3/8" X 4" , (INCLUDED IN KV16190)

1шт.

2

14H1076

Nut

3/8" (SUB FOR 14H812)(INCLUDED IN KV16190)

1шт.

5

03H1399

Bolt

5/8" X 1-3/4"

ARшт.

6

K40015

Lock Nut

ARшт.

7

KV16190

Point

(INCLUDES 14H1076 AND 19H3404)

1шт.

8

KV16188

Tooth

(USE 2 WITH STANDARD BITS AN D 4 WITH TREE AND SHRUB BITS)

ARшт.

10

KV16189

Tooth

WISDOM

ARшт.

11

KV15764

End Bit

9" STANDARD, WHOLEGOODS

1шт.

End Bit

10" STANDARD, WHOLEGOODS ( KV15765 NO LONGER AVAILABLE)

1шт.

KV15766

End Bit

12" STANDARD, WHOLEGOODS

1шт.

KV15767

End Bit

15" STANDARD, WHOLEGOODS

1шт.

KV15768

End Bit

18" STANDARD, WHOLEGOODS

1шт.

KV15769

End Bit

24" STANDARD, WHOLEGOODS

1шт.

KV15770

End Bit

30" STANDARD, WHOLEGOODS

1шт.

KV15771

End Bit

36" STANDARD, WHOLEGOODS

1шт.

12

KV15772

End Bit

18" TREE AND SHRUB, WHOLEGOODS

1шт.

KV15773

End Bit

24" TREE AND SHRUB, WHOLEGOODS

1шт.

KV15774

End Bit

30" TREE AND SHRUB, WHOLEGOODS

1шт.

KV15775

End Bit

36" TREE AND SHRUB, WHOLEGOODS

1шт.

13

KV17858

Tooth

ARшт.

14

KV17863

Tooth

ARшт.

15

KV17862

Tooth

(HOLDER)

1шт.

16

KV15776

End Bit

9" ROCK, WHOLEGOODS

1шт.

KV15777

End Bit

12" ROCK, WHOLEGOODS

1шт.

17

19H3550

Cap Screw

1/2" X 4"

1шт.

18

14H1040

Nut

1/2" (SUB FOR 14H809)

1шт.

19

KV15779

Kit

12" EXTENSION (HEX DRIVE), WHOLEGOODS

1шт.

KV15780

Kit

24" EXTENSION (HEX DRIVE), WHOLEGOODS

1шт.

KV15781

Kit

WHOLEGOODS ADAPTER, 2" HEX TO 2.56 ROUND

1шт.

KV15782

Kit

WHOLEGOODS ADAPTER, 2.56 ROUND TO 2" HEX

1шт.

Выбрано товаров: 30