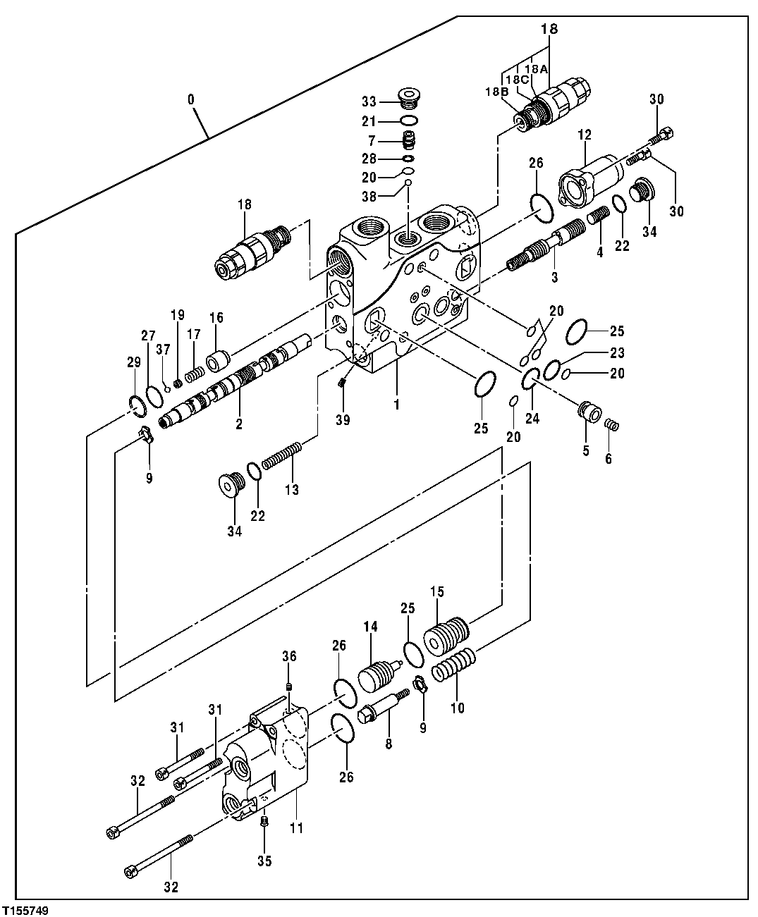
Запчасти John Deere 554 170 - Main Control Valve Components - Boom Section 3360 HYDRAULIC SYSTEM

Схема запчастей John Deere 554 - 170 - Main Control Valve Components - Boom Section 3360 HYDRAULIC SYSTEM
FIT
1:1
100%

Артикул

Название

Примечание

Количество

0

4481387

Flow Control Hyd. Valve

BOOM SECTION

1шт.

1

Housing

1шт.

2

Spool

1шт.

3

Spool

1шт.

4

Piston

1шт.

5

0798601

Check Valve

1шт.

6

0798602

Spring

1шт.

7

0798603

Valve Seat

1шт.

8

Bolt

1шт.

9

Retainer

2шт.

10

Spring

1шт.

11

Cap

1шт.

12

0798606

Cap

1шт.

13

0798604

Spring

1шт.

14

Piston

1шт.

15

Sleeve

1шт.

16

Poppet

1шт.

17

0798702

Spring

1шт.

18

4456617

Pressure Relief Valve

2шт.

18A

4509181

O-Ring

SUB FOR Z955655

1шт.

18B

0843201

O-Ring

SUB FOR 0842108

1шт.

18C

0842802

Ring

2шт.

19

Set Screw

1шт.

20

CH11568

Packing

SUB FOR 4506407

6шт.

21

M800650

Packing

SUB FOR 957366

1шт.

22

CH11570

O-Ring

SUB FOR 4509180

2шт.

23

4506416

O-Ring

1шт.

24

4506418

O-Ring

1шт.

25

0976602

O-Ring

SUB FOR TH103574 OR AT264354 OR 4S00734, SUB FOR 4509181

3шт.

26

A811025

O-Ring

3шт.

27

4512490

O-Ring

1шт.

28

4046168

Back-Up Ring

1шт.

29

Ring

0842803 NO LONGER AVAILABLE FOR SERVICE

1шт.

30

0798607

Bolt

2шт.

31

0798703

Bolt

2шт.

32

0798704

Bolt

2шт.

33

0630505

Plug

SUB FOR 0733210

1шт.

34

0798412

Plug

2шт.

35

Plug

1шт.

36

Plug

1шт.

37

0103529

Ball

SUB FOR 0798414

1шт.

38

0665007

Ball

1шт.

39

Choke

1шт.

Выбрано товаров: 43