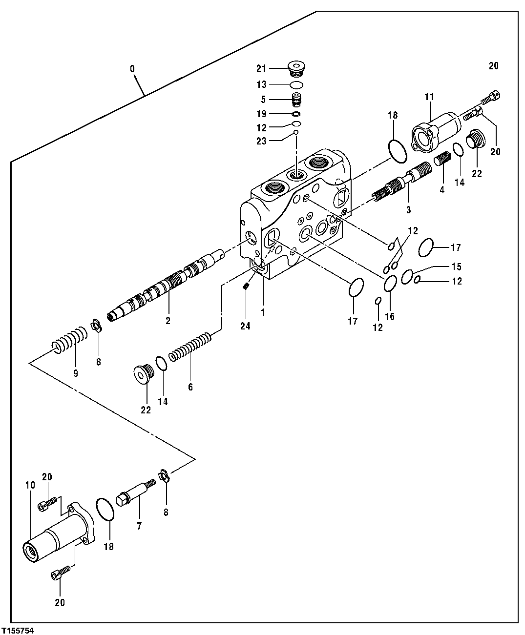
Запчасти John Deere 554 175 - Main Control Valve Components - Propel Sections (Right and Left) 3360 HYDRAULIC SYSTEM

Схема запчастей John Deere 554 - 175 - Main Control Valve Components - Propel Sections (Right and Left) 3360 HYDRAULIC SYSTEM
FIT
1:1
100%

Артикул

Название

Примечание

Количество

0

4481394

Flow Control Hyd. Valve

PROPEL SECTIONS, RIGHT NEXT TO AUXILIA RY SECTION, LEFT NEXT TO BLADE SECTION

1шт.

1

Housing

1шт.

2

Spool

1шт.

3

Spool

1шт.

4

Piston

1шт.

5

0798603

Valve Seat

1шт.

6

0799201

Spring

1шт.

7

Bolt

1шт.

8

Retainer

2шт.

9

Spring

1шт.

10

0798605

Cap

1шт.

11

0798606

Cap

1шт.

12

CH11568

Packing

SUB FOR 4506407

6шт.

13

M800650

Packing

SUB FOR 957366

1шт.

14

CH11570

O-Ring

SUB FOR 4509180

2шт.

15

4506416

O-Ring

1шт.

16

4506418

O-Ring

1шт.

17

0976602

O-Ring

SUB FOR TH103574 OR AT264354 OR 4S00734, SUB FOR 4509181

2шт.

18

A811025

O-Ring

2шт.

19

4046168

Back-Up Ring

1шт.

20

0798607

Bolt

4шт.

21

0630505

Plug

SUB FOR 0733210

1шт.

22

0798412

Plug

2шт.

23

0665007

Ball

1шт.

24

Choke

1шт.

Выбрано товаров: 25