Запчасти John Deere 554 27 - Cylinder Block And Main Bearing Caps 0404 Cylinder Block

Схема запчастей John Deere 554 - 27 - Cylinder Block And Main Bearing Caps 0404 Cylinder Block
FIT
1:1
100%

Артикул

Название

Примечание

Количество

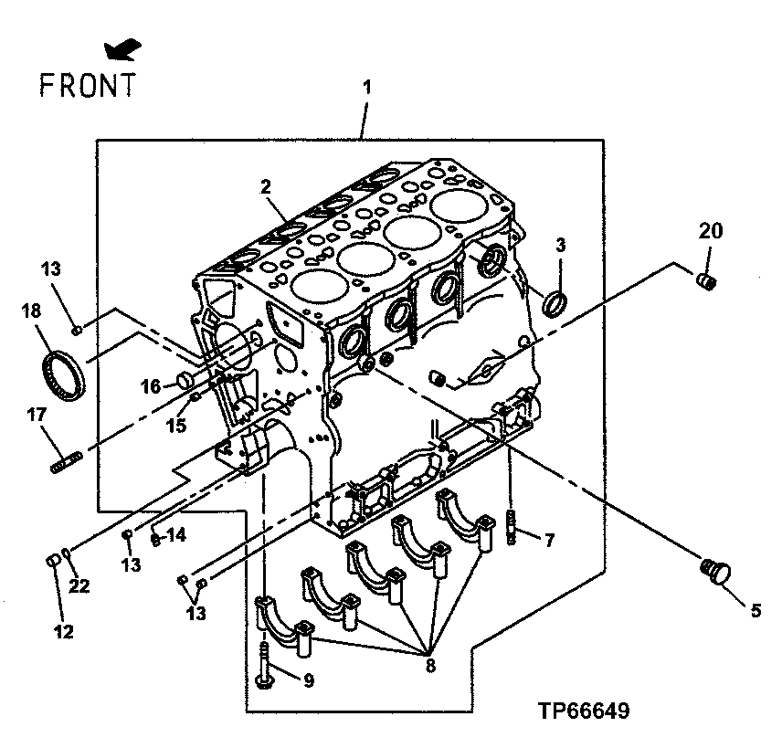
1

8972178031

Manifold

1шт.

2

Cylinder Block

1шт.

3

8942298530

Plug

(SUB FOR AT254851)D=35 MM, H=10 MM

4шт.

5

9096640010

Fitting Plug

(SUB FOR AT255028)(PT1/4)

1шт.

7

0410106160

Stud

(SUB FOR 8972621471)M6 X 16, L=25 MM

2шт.

8

Bearing Cap

5шт.

9

8941674701

Bolt

(SUB FOR AT259967)

10шт.

12

5096000130

Seal

0D=12.3 MM, (SUB FOR AT254823)

1шт.

13

9112290581

Dowel Pin

(SUB FOR AT255033)

4шт.

14

AT261308

Fitting Plug

1шт.

15

5096000130

Seal

0D=12.3 MM, (SUB FOR AT254823)

1шт.

16

8972096090

Seal

(SUB FOR AT256018)

1шт.

17

8972621451

Stud

M8 X 40, L=52 MM

1шт.

18

8970470560

Needle Bearing

(SUB FOR AT254902)

1шт.

20

1096050190

Pipe Plug

(SUB FOR AT254811)(PT 1/4)

1шт.

22

Seal

1шт.

Выбрано товаров: 16