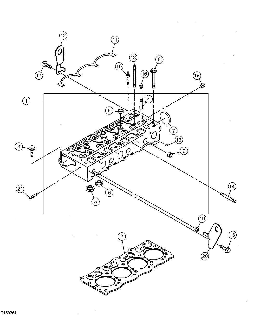
Запчасти John Deere 554 34 - CYLINDER HEAD AND HEAD GASKET 0409 Cylinder Head and Valves

Схема запчастей John Deere 554 - 34 - CYLINDER HEAD AND HEAD GASKET 0409 Cylinder Head and Valves
FIT
1:1
100%

Артикул

Название

Примечание

Количество

1

8971952516

Cylinder Head

(SUB FOR 8971952514 8971952515)

1шт.

2

8972352610

Gasket

ALSO INCLUDED IN ENGINE GASKET SET

1шт.

3

8944637840

Bolt

(SUB FOR AT254871)M8 X 25

5шт.

4

8972319690

Guide

(SUB FOR AT261427)(SUB FOR AT254877)

8шт.

5

8970453920

Valve Seat Insert

(SUB FOR AT254896)EXHAUST

4шт.

6

8970453912

Valve Seat

INLET

4шт.

7

1096000581

Plug

(SUB FOR 1096000580 OR AT254808)OD=45 MM

1шт.

8

8970369591

Bolt

(SUB FOR AT254884)M12 X 89

10шт.

9

8972096090

Seal

(SUB FOR AT256018)OD=22 MM

6шт.

10

8970736411

Plug

4шт.

11

8972293810

Elec. Connector Terminal

1шт.

12

8970853900

Hanger

(SUB FOR AT254923)

1шт.

13

8972334290

Plug

5шт.

14

5093000650

Stud

M8 X 79, L=92 MM, (SUB FOR AT254819)

4шт.

15

0280508160

Bolt

(SUB FOR AT259924 OR 02 80808160)M8 X 16 FLANGE

1шт.

16

8941105591

Seal

(SUB FOR AT254842)ALSO INC LUDED IN ENGINE GASKET SET

8шт.

17

0280508160

Bolt

(SUB FOR AT259924 OR 02 80808160)M8 X 16 FLANGE

1шт.

18

8970946411

Stud

6шт.

19

5096050050

Pipe Plug

(SUB FOR AT254825)

2шт.

20

8970853890

Hanger

(SUB FOR AT254922)

1шт.

21

8972621461

Stud

(SUB FOR AT255008)M8 X 45, L=57MM, (WATER PUMP STUD)

1шт.

Выбрано товаров: 21