Запчасти John Deere 5C ZTS 142 - Hydraulic Breaker Bracket (HB15) 3302 Bucket With Teeth

Схема запчастей John Deere 5C ZTS - 142 - Hydraulic Breaker Bracket (HB15) 3302 Bucket With Teeth
FIT
1:1
100%

Артикул

Название

Примечание

Количество

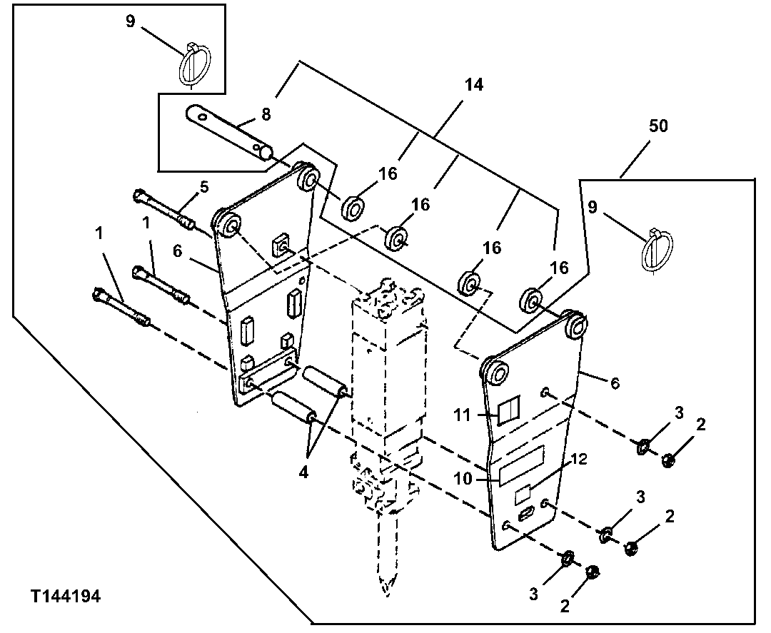
1

19H3527

Cap Screw

1" X 7"

2шт.

2

14H1048

Nut

1"

3шт.

3

24M7294

Washer

26 X 39 X 4 mm

3шт.

4

KV17492

Bushing

2шт.

5

19H3529

Cap Screw

1" X 8"

1шт.

6

Plate

MATCHED SET KV26430 AND KV21388 NLA

1шт.

8

T185390

Pin

2шт.

9

AH89461

Pin Fastener

4шт.

10

KV22126

Label

WORKSITE PRO™ SUB FOR KV16405

1шт.

11

N279497

Label

WARNING, ACCUMULATOR

2шт.

12

ES10894

Label

FLYING DEBRIS

2шт.

14

AT190489

Pin & Bushing Kit

WHOLE GOODS

1шт.

16

T185391

Bushing

4шт.

50

Kit

WHOLE GOODS, AT280181 NLA, HB1 5 BREAKER, CONTAINS PARTS ON AN OTHER PAGE ALSO ORDER AT190489

1шт.

Выбрано товаров: 0