Запчасти John Deere 5C ZTS 147 - PA15 PLANETARY DRIVE AUGER (COMPONENTS) 3302 Bucket With Teeth

Схема запчастей John Deere 5C ZTS - 147 - PA15 PLANETARY DRIVE AUGER (COMPONENTS) 3302 Bucket With Teeth
FIT
1:1
100%

Артикул

Название

Примечание

Количество

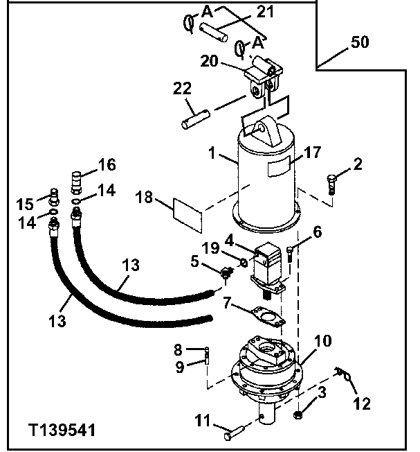
1

KV16004

Housing

1шт.

2

19H2355

Cap Screw

9/16" X 1-1/2"

3шт.

3

T69760

Lock Nut

14.275 mm (9/16")

3шт.

4

KV20301

Motor

(COMPLETE)

1шт.

5

AT32338

Fitting

2шт.

6

19H1721

Cap Screw

1/2" X 1-1/2"

4шт.

7

KV16010

Gasket

1шт.

8

KV16012

Breather

1шт.

9

KV16011

Spool Valve

1шт.

10

KV16005

Crankcase

(COMPLETE) PLANETARY (CRANKCAS E) (COMPONENTS ON ANOTHER PAGE)

1шт.

11

KV18463

Pin

1шт.

12

M72598

Quick Lock Pin

1шт.

13

KV15980

Hydraulic Hose

2шт.

14

U12547

O-Ring

2шт.

15

KV14217

Hyd. Quick-Connect Coupler

MALE

1шт.

16

KV14216

Hyd. Quick-Connect Coupler

FEMALE

1шт.

17

KV16014

Label

DANGER

1шт.

18

T211965

Label

WORKSITE PRO™ (SUB FOR KV22123, KV15800)

1шт.

19

R26906

O-Ring

2шт.

20

AT191249

Bracket

1шт.

21

AT191250

Pin

1шт.

21A

T184980

Pin

2шт.

22

AT191248

Pin

1шт.

50

AT306938

Auger

(SUB FOR AT280184)(PA15) (WHOLE GOODS)

1шт.

Выбрано товаров: 0