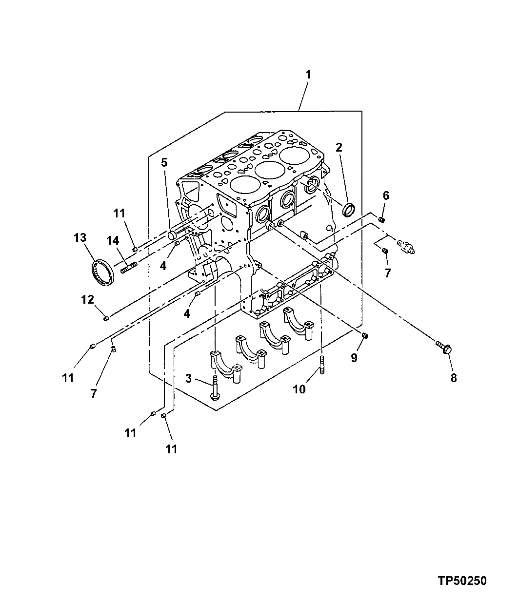
Запчасти John Deere 5C ZTS 25 - Cylinder Block 0404 Cylinder Block

Схема запчастей John Deere 5C ZTS - 25 - Cylinder Block 0404 Cylinder Block
FIT
1:1
100%

Артикул

Название

Примечание

Количество

1

8972322866

Cylinder Block

(ADDITIONAL COMPONENTS SHOWN ON FOLLOWIN G PAGE) (SUB FOR 8972322864, 8972322865)

1шт.

2

8942298530

Plug

(SUB FOR AT254851)

2шт.

3

8941674701

Bolt

(SUB FOR AT259967)

8шт.

4

5096000130

Seal

2шт.

5

8972096090

Seal

(SUB FOR AT256018)

1шт.

6

1096050190

Pipe Plug

(SUB FOR AT254811)

1шт.

7

AT261308

Fitting Plug

1шт.

8

9096640010

Fitting Plug

WATER DRAIN (SUB FOR AT255028)

1шт.

8943424140

Hand Operated Valve

1шт.

9

5096050192

Pipe Plug

1шт.

10

0410106160

Stud

(SUB FOR 8972621471)

2шт.

11

9112290581

Dowel Pin

(SUB FOR AT255033)

3шт.

12

5096000130

Seal

1шт.

13

8970470560

Needle Bearing

(SUB FOR AT254902)

1шт.

14

8972621451

Stud

1шт.

Выбрано товаров: 15