Запчасти John Deere 35D 61 - LUBRICATION SYSTEM 1370 LUBRICATION SYSTEMS

Схема запчастей John Deere 35D - 61 - LUBRICATION SYSTEM 1370 LUBRICATION SYSTEMS
FIT
1:1
100%

Артикул

Название

Примечание

Количество

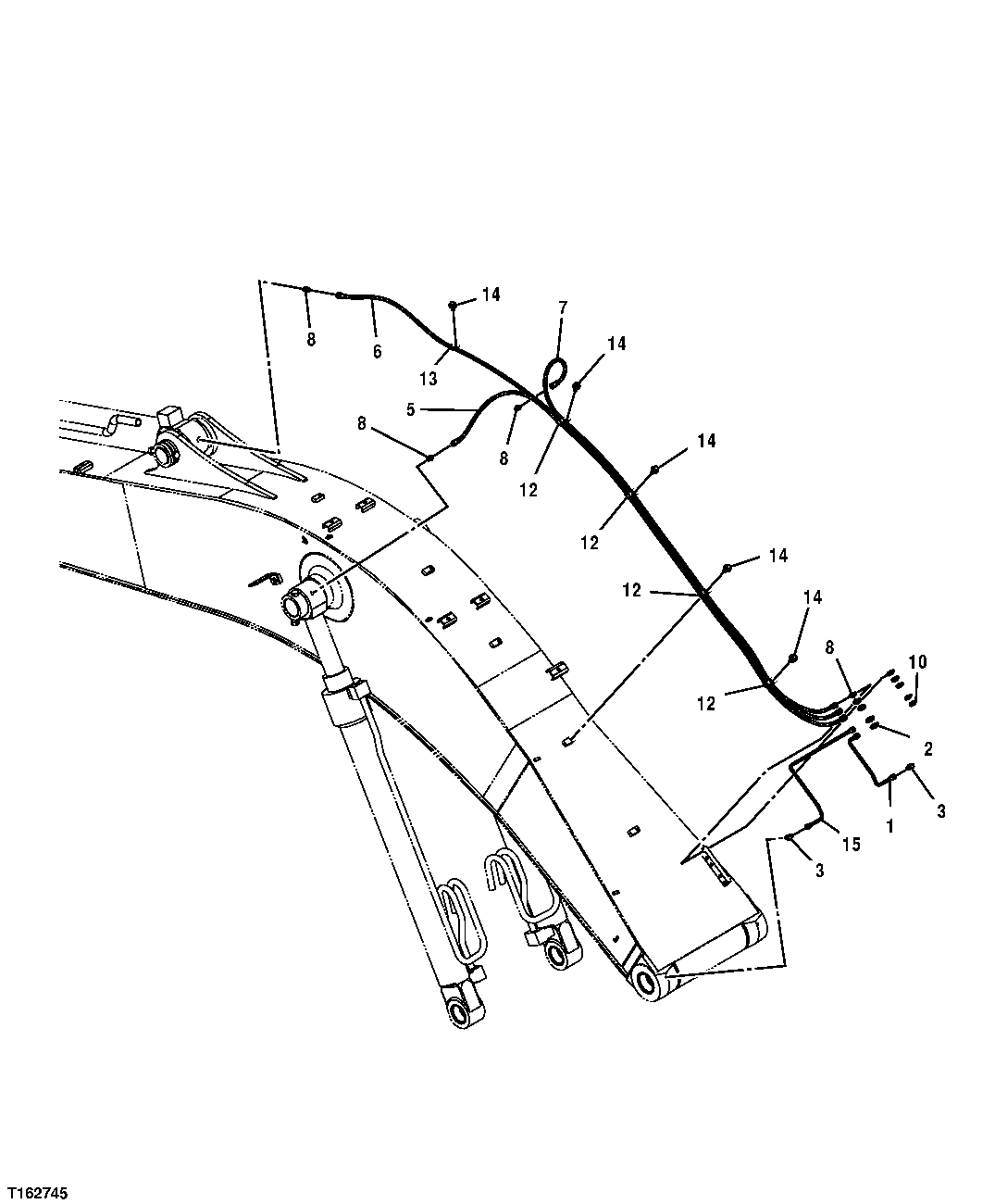
1

4361000

Oil Line

1шт.

2

4360981

Adapter Fitting

2шт.

3

4345297

Elbow Fitting

2шт.

5

4429017

Hydraulic Hose

1шт.

6

4429287

Hydraulic Hose

1шт.

7

4447713

Hose

1шт.

8

4154651

Adapter Fitting

6шт.

10

4148896

Lubrication Fitting

5шт.

12

T152608

Clamp

SUB FOR 4252877

4шт.

13

4190261

Clip

1шт.

14

19M8324

Cap Screw

M10 X 16 SUB FOR J011016

5шт.

12M7067

Lock Washer

12 mm

5шт.

15

4370555

Line

1шт.

Выбрано товаров: 13