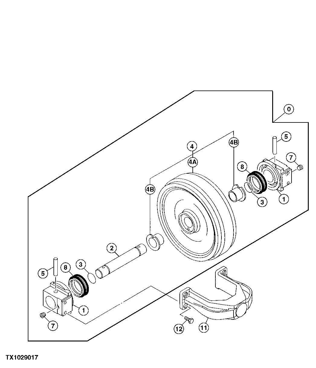
Запчасти John Deere 35D 6 - REPLACEMENT TRACK CHAIN IDLER 0133 ROLLERS

Схема запчастей John Deere 35D - 6 - REPLACEMENT TRACK CHAIN IDLER 0133 ROLLERS
FIT
1:1
100%

Артикул

Название

Примечание

Количество

0

Track Idler

AT301568 NLA, SUB 9242964R Qua ntity of 4 On Each Side of Unit

2шт.

9242964R

Track Idler

1шт.

1

AT180016

Support

2шт.

2

AT180022

Shaft

1шт.

3

AT180019

O-Ring

69.400 X 3.100 mm (2.732" X 0.122")

2шт.

4

AT180020

Roller Shell

1шт.

4A

Idler

1шт.

4B

AT180021

Bushing

75 X 79 X 48.500 mm (2-6 1/64" X 3.110" X 1.909")

2шт.

5

AT180015

Pin Fastener

20.500 X 107 mm (0.807" X 4.213")

2шт.

7

AT180007

Fitting Plug

2шт.

8

AT180017

Seal

2шт.

11

AT180023

Yoke

Quantity of 1 Each Side of Unit

2шт.

12

19M8035

Cap Screw

M16 X 35 Quantity of 4 On Each Side of Unit

8шт.

Выбрано товаров: 13