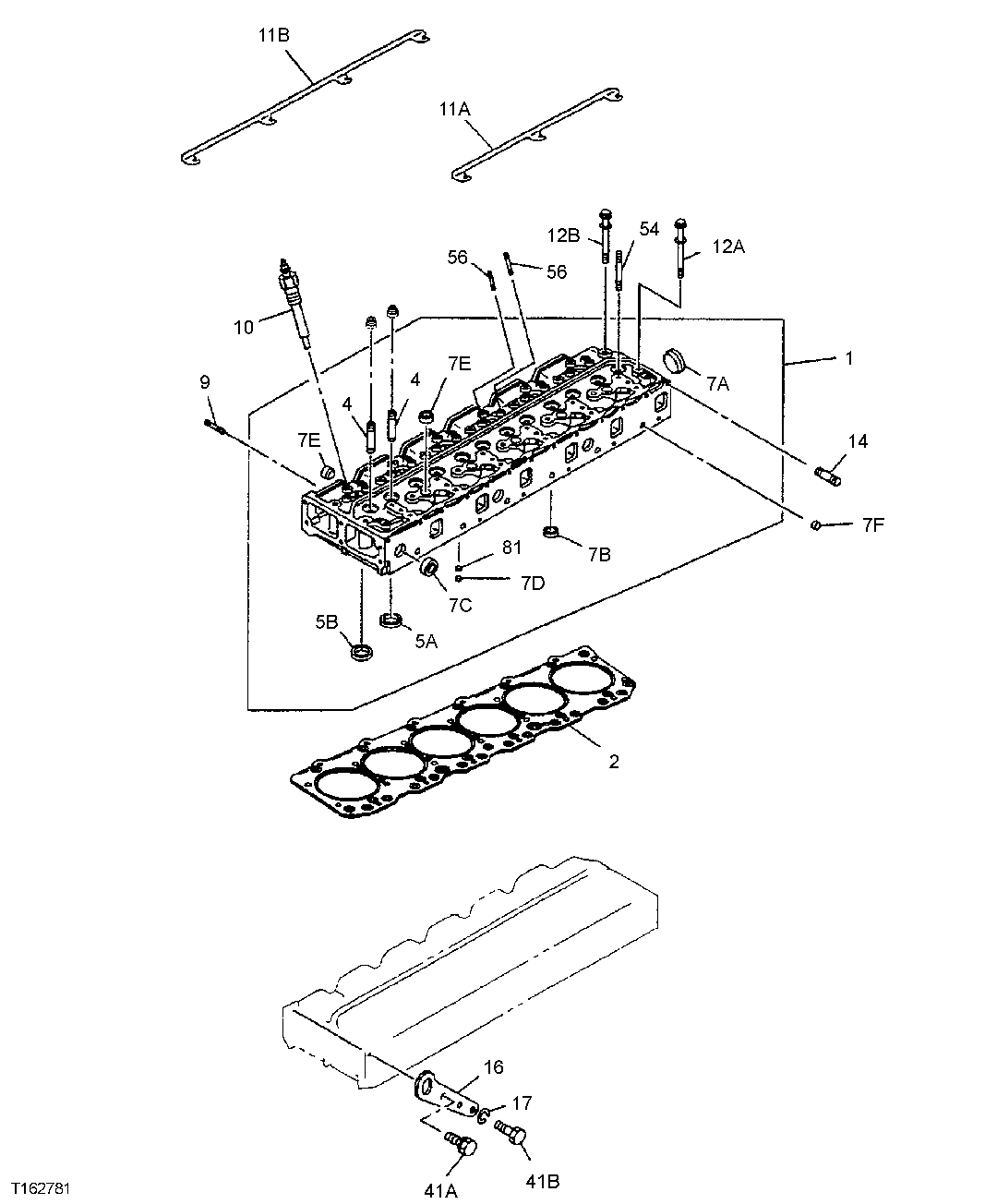
Запчасти John Deere 35D 37 - CYLINDER HEAD, HEAD GASKET AND VALVES 0409 CYLINDER HEAD, VALVES, AND EXHAUST VALVE BRAKE

Схема запчастей John Deere 35D - 37 - CYLINDER HEAD, HEAD GASKET AND VALVES 0409 CYLINDER HEAD, VALVES, AND EXHAUST VALVE BRAKE
FIT
1:1
100%

Артикул

Название

Примечание

Количество

1

1111109382

Cylinder Head

SUB FOR 1111109381, 11 11109380 OR 1111109060

1шт.

2

1111411961

Gasket

Cylinder Head

1шт.

4

1117210130

Guide

12шт.

5A

8970376861

Seat

SUB FOR 8970376860 Intake

6шт.

5B

5117110280

Insert

Exhaust

6шт.

7A

1096000581

Plug

O.D. 45MM SUB FOR AT254808 OR 1096000580

1шт.

7B

9111291280

Seal

O.D. 20MM

1шт.

7C

1096000122

Plug

O.D. 32MM SUB FOR AT254809 OR 1096000121

3шт.

7D

5096000130

Seal

O.D. 12.3MM SUB FOR AT254823

6шт.

7E

AT263792

Plug

O.D. 25MM

11шт.

7F

9111296010

Bearing Cup

O.D. 12.5MM

5шт.

9

0410108250

Stud

M8 X 25 SUB FOR 9041108250

6шт.

10

1825130452

Glow Plug

SUB FOR 1825130451

6шт.

11A

5197320012

Electrical Connector Assy

236MM

1шт.

11B

5197320022

Electrical Connector Assy

354MM

1шт.

12A

1090701011

Bolt

M12 X 113 SUB FOR 1090701010

20шт.

12B

1090701001

Bolt

M12 X 100

6шт.

14

9096300260

Stud

M8 X 86 MARKED R121608

12шт.

16

5117770551

Hanger

1шт.

17

AT264141

Washer

1шт.

41A

AT263875

Bolt

M10 X 20 Flange

3шт.

41B

0208014250

Bolt

M14 X 25

1шт.

54

9098301630

Stud

M8 X 83

4шт.

56

1093000180

Stud

M8 X 40

12шт.

81

9096600340

Plate

O.D. 11.9MM

6шт.

Выбрано товаров: 25