Запчасти John Deere 35D 39 - FUEL INJECTION PUMP 0413 FUEL INJECTION SYSTEM

Схема запчастей John Deere 35D - 39 - FUEL INJECTION PUMP 0413 FUEL INJECTION SYSTEM
FIT
1:1
100%

Артикул

Название

Примечание

Количество

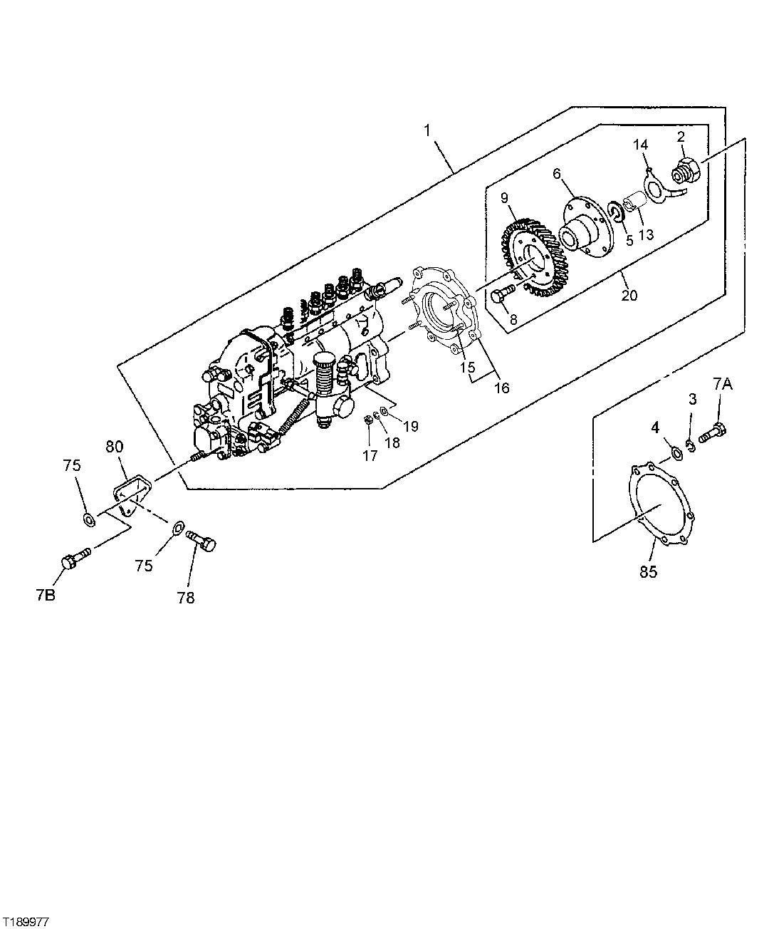
1

1156033783

Fuel Injection Pump

SUB FOR 1156033782

1шт.

2

9096620070

Bolt

1шт.

3

1099851770

Washer

I.D. 8.2MM SUB FOR AT255018

7шт.

4

0916105080

Washer

I.D. 8.5MM SUB FOR AT195657 OR 9091605080

7шт.

5

9884102640

Washer

1шт.

6

1157810160

Coupling

1шт.

7A

0108558600

Bolt

M8X60 SUB FOR 0108058600

7шт.

7B

0507410250

Bolt

M10 X 25 SUB FOR 0505410250 AND 0500410250

1шт.

8

8944575170

Bolt

6шт.

9

5125240830

Gear

1шт.

13

1157890940

Nut

1шт.

14

1156192460

Plate

1шт.

15

0440110300

Stud

SUB FOR 9044110300

4шт.

16

1156193260

Bracket

1шт.

17

5156390020

Nut

4шт.

18

1099851850

Washer

4шт.

19

9091645100

Washer

4шт.

20

1157801730

Coupling

1шт.

75

24H1308

Washer

13/32" X 1" X 0.134" SUB F OR 9091607100 OR 0916107100

3шт.

78

4447335

Bolt

SUB FOR AT196259 OR 0500410200

2шт.

80

1197511200

Bracket

1шт.

85

8943706751

Gasket

SUB FOR 8943706750

1шт.

Выбрано товаров: 22