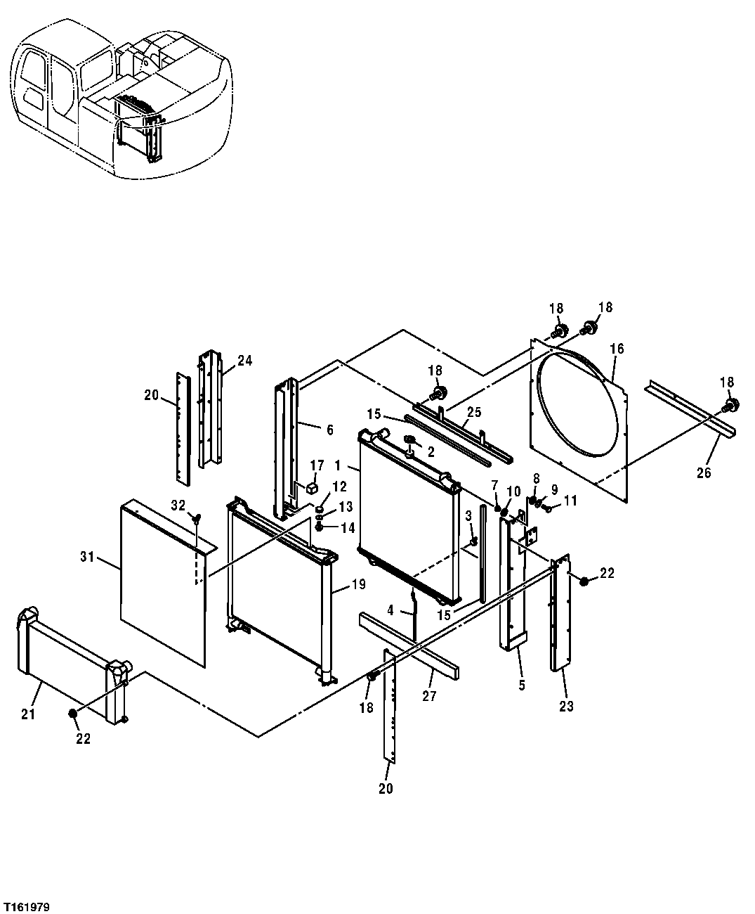
Запчасти John Deere 35D 64 - RADIATOR, CHARGE AIR COOLER AND HYDRAULIC OIL COOLER 0511 RADIATOR & FAN SHROUD

Схема запчастей John Deere 35D - 64 - RADIATOR, CHARGE AIR COOLER AND HYDRAULIC OIL COOLER 0511 RADIATOR & FAN SHROUD
FIT
1:1
100%

Артикул

Название

Примечание

Количество

1

4448338

Core

1шт.

2

4438117

Cap

SUB FOR 4343268

1шт.

3

4454090

Pipe Plug

1шт.

4

PMK010-0406

Bulk Hose

SUB FOR 4454091

1шт.

5

4454092

Bracket

1шт.

6

4459209

Bracket

1шт.

7

4454094

Bushing

4шт.

8

4454095

Isolator

4шт.

9

4454096

Washer

4шт.

10

4454097

Isolator

4шт.

11

FYA00013411

Bolt

SUB FOR 4454098

4шт.

12

4454099

Isolator

2шт.

13

4454100

Washer

2шт.

14

FYA00013412

Bolt

SUB FOR 4371242

2шт.

15

4454101

Packing

4шт.

16

4454102

Guard

1шт.

17

4454103

Packing

2шт.

18

4382207

Bolt

SUB FOR 4371258

22шт.

19

4459211

Oil Cooler

1шт.

20

4454104

Bracket

2шт.

21

4459212

Intercooler

1шт.

22

4454105

Nut

12шт.

23

4459213

Bracket

1шт.

24

4459214

Bracket

1шт.

25

4454108

Bracket

1шт.

26

4454109

Plate

1шт.

27

4454110

Packing

1шт.

31

4459215

Screen

1шт.

32

21M1689

Wing Screw

M6 X 12 SUB FOR 4229973

2шт.

Выбрано товаров: 0