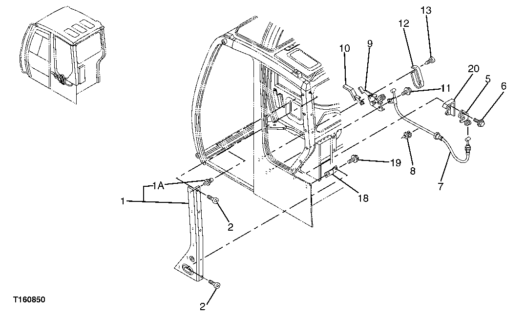
/ / / / / / / / / 105 - CAB COMPONENTS (DOOR ACTUATOR CABLE)
Запчасти John Deere 35D 105 - CAB COMPONENTS (DOOR ACTUATOR CABLE) 1810 OPERATOR ENCLOSURE
1
4461954
Cover
1шт.
1A
4464899
Clip
6шт.
2
4463914
Screw
4шт.
5
4463203
Catch
1шт.
6
4464320
Bolt
2шт.
7
4464329
Push Pull Cable
1шт.
8
4464330
Clip
1шт.
9
4464331
Lever
1шт.
10
4464332
Handle
1шт.
11
4463918
Bolt
2шт.
12
4464334
Cover
1шт.
13
4464335
Screw
2шт.
18
4464340
Bracket
1шт.
19
4703134
Bolt
(SUB FOR 4464230)
2шт.
20
Bracket
( 4464333 NLA)
1шт.
Выбрано товаров: 0