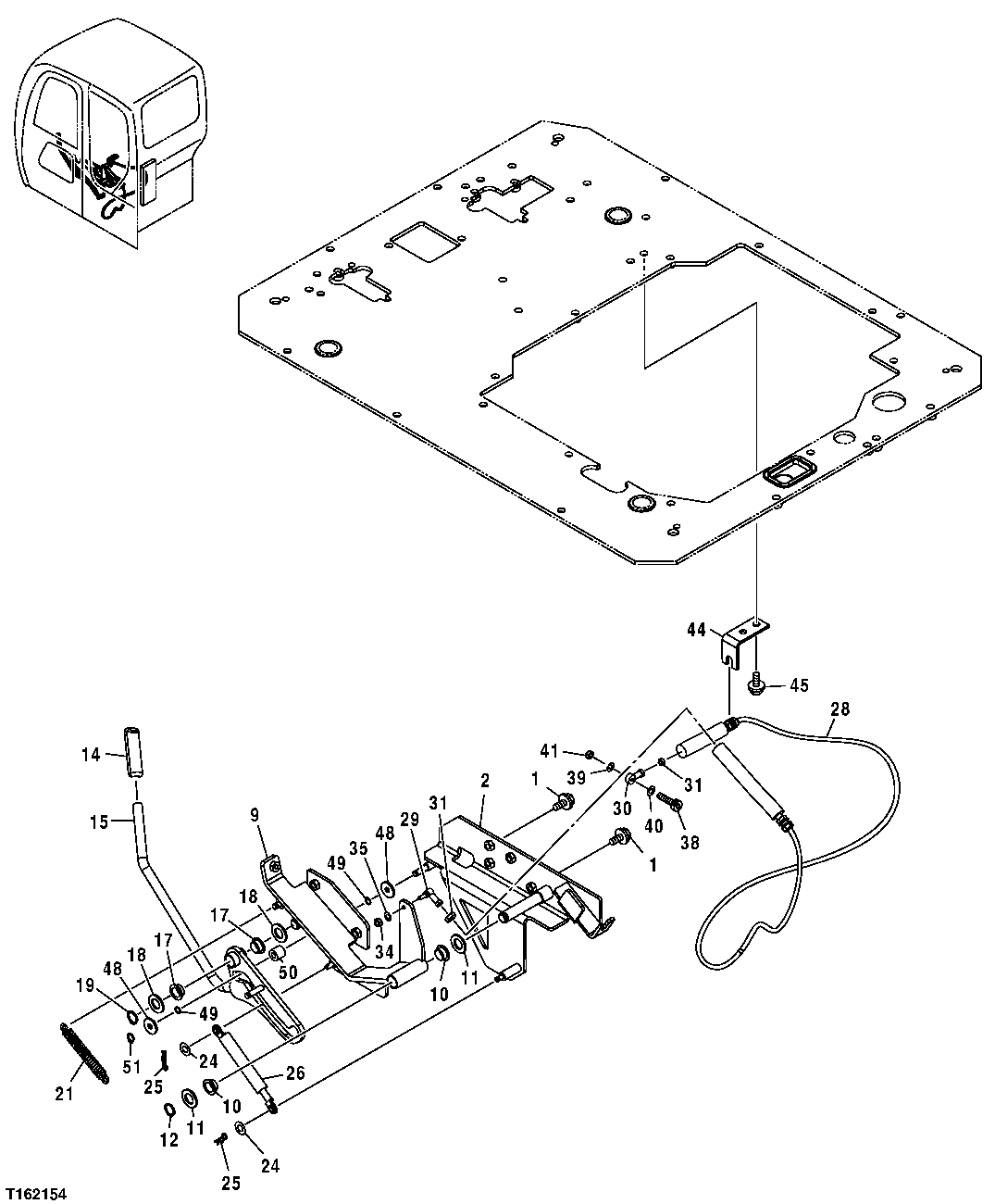
Запчасти John Deere 35D 192 - PILOT CONTROL SHUT-OFF LEVER 3315 CONTROLS LINKAGE

Схема запчастей John Deere 35D - 192 - PILOT CONTROL SHUT-OFF LEVER 3315 CONTROLS LINKAGE
FIT
1:1
100%

Артикул

Название

Примечание

Количество

1

19M7662

Cap Screw

M10 X 30 (SUB FOR J051030)

4шт.

24M7096

Washer

10.500 X 18 X 1.600 mm

4шт.

12M7066

Lock Washer

10 mm

4шт.

2

7038944

Bracket

1шт.

9

7038917

Bracket

1шт.

10

4451809

Bushing

2шт.

11

24M7051

Washer

21 X 37 X 3 mm (SUB FOR A590120)

2шт.

12

40M7080

Snap Ring

(SUB FOR 959500)

1шт.

14

4455772

Grip

1шт.

15

7044736

Lever

1шт.

17

4451809

Bushing

2шт.

18

24M7051

Washer

21 X 37 X 3 mm (SUB FOR A591020)

2шт.

19

40M7080

Snap Ring

(SUB FOR 959500)

1шт.

21

4454270

Spring

1шт.

24

24M7055

Washer

8.400 X 16 X 1.600 mm (SUB FOR A590108)

2шт.

25

H132922

Cotter Pin

(SUB FOR 4022697)

2шт.

26

4452249

Latch

1шт.

28

4452142

Cable

1шт.

29

4287791

Ball Joint

1шт.

30

4286584

End

1шт.

31

14M7297

Nut

M5 (SUB FOR M500504)

2шт.

34

14M7272

Nut

M6 (SUB FOR M500605)

1шт.

35

12M7006

Lock Washer

6 mm (SUB FOR A590906)

1шт.

38

19M8505

Screw

M6 X 25 (SUB FOR M340625)

1шт.

39

12M7006

Lock Washer

6 mm (SUB FOR A590906)

1шт.

40

24M7054

Washer

6.400 X 12 X 1.600 mm (SUB FOR A590106)

1шт.

41

14M7272

Nut

M6 (SUB FOR M500605)

1шт.

44

4452007

Bracket

1шт.

45

19M7402

Cap Screw

M10 X 25 (SUB FOR J021020)

2шт.

24M7096

Washer

10.500 X 18 X 1.600 mm

2шт.

12M7066

Lock Washer

10 mm

2шт.

48

4371706

Washer

2шт.

49

4454269

Shim

2шт.

50

4454268

Needle Bearing

1шт.

51

991334

Snap Ring

1шт.

Выбрано товаров: 35