Запчасти John Deere 35D 244 - PILOT LINES (CONTROL VALVE TOP TO PILOT SIGNAL MANIFOLD) 3363 LINES, HOSES, AND FITTINGS

Схема запчастей John Deere 35D - 244 - PILOT LINES (CONTROL VALVE TOP TO PILOT SIGNAL MANIFOLD) 3363 LINES, HOSES, AND FITTINGS
FIT
1:1
100%

Артикул

Название

Примечание

Количество

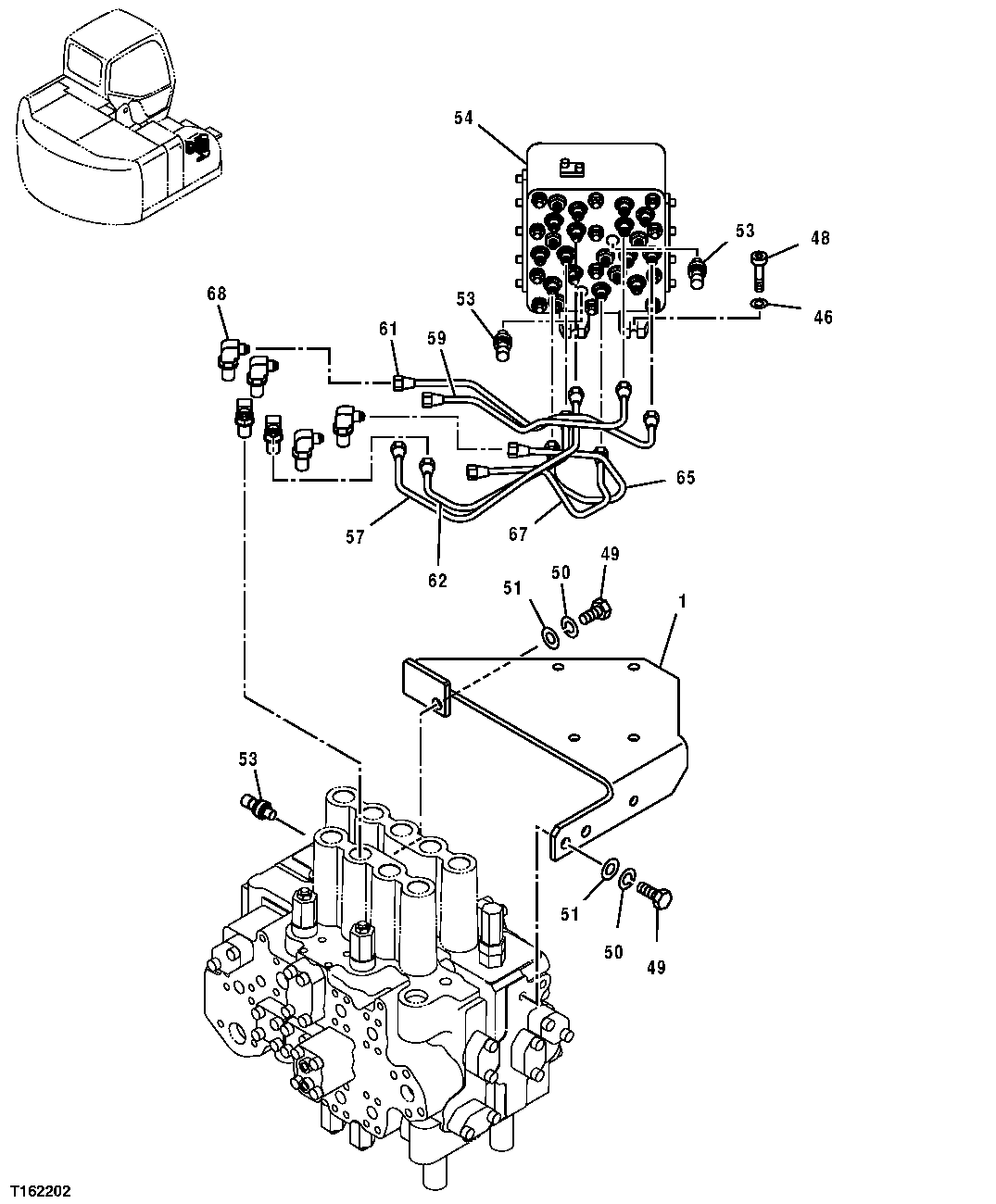
1

8082452

Bracket

1шт.

46

24M7028

Washer

10.500 X 20 X 2 mm (SUB FOR A590110)

4шт.

48

L159272

Screw

(SUB FOR J781040)

4шт.

49

19M6332

Cap Screw

M14 X 35 (SUB FOR J901435)

3шт.

50

12H317

Lock Washer

9/16"

3шт.

51

24M7085

Washer

15 X 28 X 2.500 mm (SUB FOR A590114)

3шт.

53

4436535

Sensor

3шт.

54

4468337

Flow Control Hyd. Valve

(ALSO ORDER DH900293 AND A852123)

1шт.

57

4630938

Hydraulic Hose

ALSO ORDER 4202422 AND 4455585, (SUB FOR TH4452046) 4452046 NLA)

1шт.

58

DH900293

Hydraulic Hose

Not Illustrated

1шт.

59

4630941

Hydraulic Hose

Arm In ALSO ORDER 4455585 4202 422 AND H77698, SUB FOR 4452047

1шт.

4455585

Reducer

1шт.

4202422

Adapter Fitting

1шт.

H77698

Tie Band

1шт.

60

A852123

Adapter Fitting

Not Illustrated

1шт.

61

4630940

Hydraulic Hose

Right Swing ALSO ORDER 4455585 42 02422 AND H77698, SUB FOR 4452048)

1шт.

4455585

Reducer

1шт.

4202422

Adapter Fitting

1шт.

H77698

Tie Band

1шт.

62

4452049

Oil Line

1шт.

65

4452050

Oil Line

1шт.

67

4452051

Oil Line

1шт.

68

4420392

Fitting

6шт.

CH11570

O-Ring

(SUB FOR 4509180)

6шт.

Выбрано товаров: 0