Запчасти John Deere 35D 36 - ENGINE VENTILATING SYSTEM 0408 VENTILATING SYSTEM

Схема запчастей John Deere 35D - 36 - ENGINE VENTILATING SYSTEM 0408 VENTILATING SYSTEM
FIT
1:1
100%

Артикул

Название

Примечание

Количество

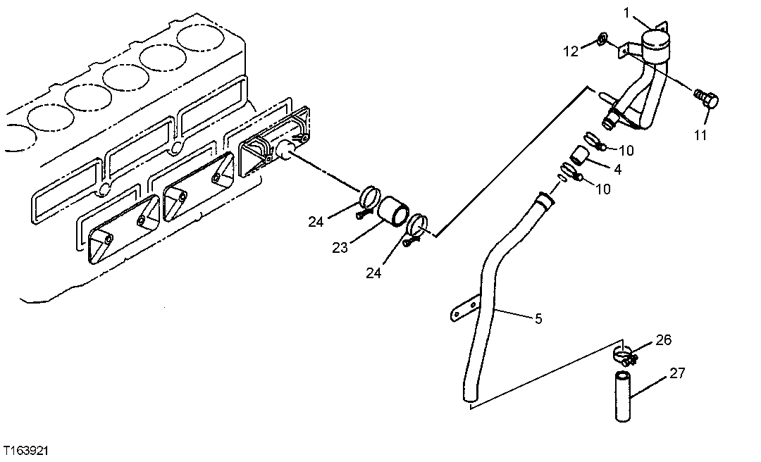
1

1117402652

Breather

1шт.

4

Bulk Hose

(5117490321 NLA) (MAKE FROM TY24403 (CUT TO LENGTH) 62 MM (2.44 INCHES))

1шт.

5

1117420602

Line

1шт.

10

9099155121

Clip

2шт.

11

14M7298

Flange Nut

M8 (SUB FOR 4447338)

2шт.

12

24H1136

Washer

11/32" X 11/16" X 0.06 5" (SUB FOR 1143190342)

2шт.

23

8972242050

Hose

1шт.

24

9099155121

Clip

2шт.

26

TY22467

Clamp

(SUB FOR 5097040313)

1шт.

27

8941376820

Hose

1шт.

Выбрано товаров: 0