Запчасти John Deere 35D 67 - RADIATOR RESERVE TANK 0511 RADIATOR & FAN SHROUD

Схема запчастей John Deere 35D - 67 - RADIATOR RESERVE TANK 0511 RADIATOR & FAN SHROUD
FIT
1:1
100%

Артикул

Название

Примечание

Количество

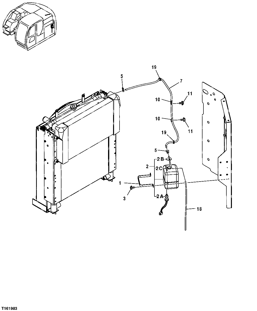
1

4180555

Bracket

1шт.

2

4130139

Tank

1шт.

2A

4153251

Sender

1шт.

2B

4396809

Cap

1шт.

2C

4288260

Plate

1шт.

3

19M7881

Screw

M8 X 20 (SUB FOR J020820)

2шт.

5

L112347

Clamp

(SUB FOR AR48236 OR 4508575)

2шт.

7

Hose

( 4434296 NLA) (MAKE FROM TY25 195 (CTL) 1282.7MM (50.5 INCH))

1шт.

10

AH79175

Clip

(SUB FOR 4190272)

2шт.

11

19M7938

Cap Screw

M10 X 20 (SUB FOR J011020)

2шт.

18

Hose

(MAKE FROM TY22566)(CUT TO LENGTH)

ARшт.

19

94-2809

Grommet

2шт.

Выбрано товаров: 0