Запчасти John Deere 35D 28 - CYLINDER BLOCK 0404 CYLINDER BLOCK

Схема запчастей John Deere 35D - 28 - CYLINDER BLOCK 0404 CYLINDER BLOCK
FIT
1:1
100%

Артикул

Название

Примечание

Количество

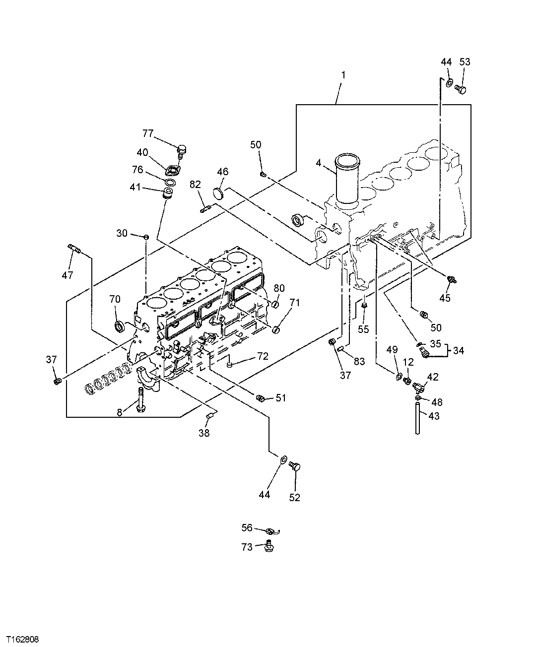
1

1112104448

Manifold

SUB FOR 1112104437 OR 1112104447

1шт.

4

5878146612

Piston-Liner Kit

O.D. GRADE=1, I.D. GRADE=AX, SUB FOR 5878146611, 1112613821 OR 1112613820

6шт.

1112613831

Cylinder Liner

O.D. GRADE=1, I.D. GRADE =CX, SUB FOR 1112613830

6шт.

1112613841

Cylinder Liner

O.D. GRADE=2, I.D. GRADE =AX, SUB FOR 1112613840

6шт.

1112613851

Cylinder Liner

O.D. GRADE=2, I.D. GRADE =CX, SUB FOR 1112613850

6шт.

1112613861

Cylinder Liner

O.D. GRADE=3, I.D. GRADE =AX, SUB FOR 1112613860

6шт.

1112613871

Cylinder Liner

O.D. GRADE=3, I.D. GRADE =CX, SUB FOR 1112613870

6шт.

1112613881

Cylinder Liner

O.D. GRADE=4, I.D. GRADE =AX, SUB FOR 1112613880

6шт.

1112613891

Cylinder Liner

O.D. GRADE=4, I.D. GRADE =CX, SUB FOR 1112613890

6шт.

8

1090004692

Bolt

M16 X 119

14шт.

12

1096660360

Fitting

1шт.

30

8941480790

Dowel Pin

O.D. 16MM

2шт.

34

8943930771

Flow Control Hyd. Valve

1шт.

35

5096230350

Gasket

1шт.

37

1096050681

Pipe Plug

2шт.

38

1097400780

Pin Fastener

O.D. 10MM, LGTH=50MM

1шт.

40

1112191291

Cover

1шт.

41

9112246021

Bushing

1шт.

42

1096800240

Drain Valve

1шт.

43

9099147010

Line

LGTH=510MM

1шт.

44

9095720140

Packing

I.D. 14.2MM, O.D. 23MM, SUB FOR GV10973

1шт.

45

5096600330

Threaded Nipple

1шт.

46

9098600190

Pipe Plug

O.D. 67MM

1шт.

47

1093000130

Stud

M10 X 30.5 LGTH=45MM

1шт.

48

8970157541

Clip

1шт.

49

1096301150

Gasket

1шт.

50

5096050180

Plug

10шт.

51

1096050791

Plug

1шт.

52

9992023140

Pipe Plug

SUB FOR AT255036

1шт.

53

0920024120

Plug

SUB FOR 5096040120

1шт.

55

1096050660

Pipe Plug

PT3/8 T=8.0

1шт.

56

1133421321

Nozzle

SUB FOR 1133421320

6шт.

70

1096000521

Bearing Cup

O.D. 60MM, SUB FOR 1096000520

2шт.

71

5112190140

Packing

O.D. 28MM

2шт.

72

5112570011

Dowel Pin

1шт.

73

8973296180

Jet

SUB FOR 1131610120

6шт.

76

1096234650

Gasket

I.D. 47.7MM

1шт.

77

19M7866

Screw

M8 X 20 SUB FOR 0501408220

2шт.

80

1096000122

Plug

O.D. 32MM, SUB FOR AT254809 OR 1096000121

3шт.

82

5093000231

Stud

M14 X 44, LGTH=65MM

1шт.

83

AT264138

Dowel Pin

O.D. 10MM, LGTH=18MM

2шт.

Выбрано товаров: 0