Качественные детали и логистика
Оригинальные и аналоговые запчасти с доставкой по России, Казахстану и Беларуси
©2022 PartSell ООО "Система" ИНН 2463123282 ОГРН 1212400004838
Центральный офис: г. Красноярск, Академика Киренского, д.87, пом.4
Телефон: 8 (800) 777-65-74 Email: zakaz@partsell.ru
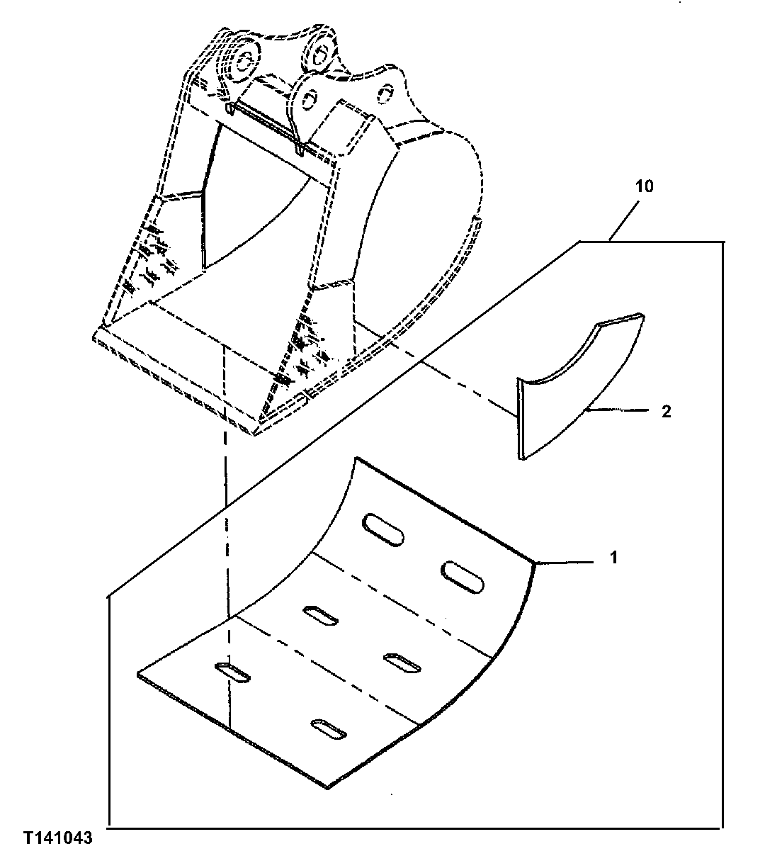
173 - ROADBUILDER BUCKET KIT (SEVERE DUTY)
№
Артикул
Название
Примечание
Количество
1
605995
Plate
(A) (USE WITH 30 INCH BUCKET)
1шт.
605996
(A) (USE WITH 36 INCH BUCKET)
2
322555
(A)
2шт.
10
Kit
(ALSO ORDER AT332699)( AT187253 NLA)
(ALSO ORDER AT332700)( AT187254 NLA)
AT199589
(WHOLEGOODS) (ALSO ORDER 42 INC H SEVERE DUTY PLATE LIP BUCKET)
Выбрано товаров: 0