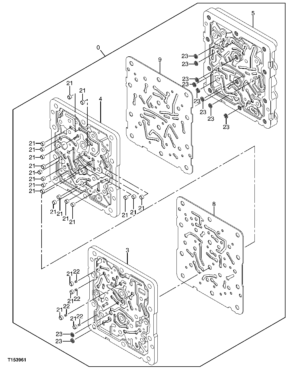
Запчасти John Deere 35D 224 - PILOT SIGNAL MANIFOLD (VALVE SECTION) 3362 CONTROL & LOAD HOLDING VALVES

Схема запчастей John Deere 35D - 224 - PILOT SIGNAL MANIFOLD (VALVE SECTION) 3362 CONTROL & LOAD HOLDING VALVES
FIT
1:1
100%

Артикул

Название

Примечание

Количество

0

4468337

Flow Control Hyd. Valve

(CONTAINS ALL ITEMS ON THIS PAGE - ADDITI ONAL COMPONENTS LISTED ON FOLLOWING PAGES)

1шт.

3

Housing

1шт.

4

Housing

1шт.

5

Housing

1шт.

8

Gasket

1шт.

9

Gasket

1шт.

21

Sleeve

21шт.

22

Spring

4шт.

23

Filter

10шт.

Выбрано товаров: 9