Запчасти John Deere 5ZTS 131 - BIT (AUGER) 3302 BUCKETS, TEETH, SHANKS AND SIDECUTTERS

Схема запчастей John Deere 5ZTS - 131 - BIT (AUGER) 3302 BUCKETS, TEETH, SHANKS AND SIDECUTTERS
FIT
1:1
100%

Артикул

Название

Примечание

Количество

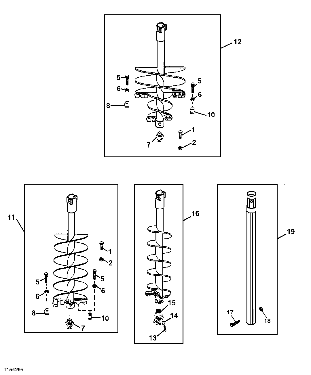
1

19H3404

Cap Screw

3/8" X 4"

ARшт.

2

14H812

Nut

3/8"

ARшт.

5

03H1399

Bolt

5/8" X 1-3/4"

ARшт.

6

K40015

Lock Nut

ARшт.

7

KV16190

Point

1шт.

8

KV16188

Tooth

ARшт.

10

KV16189

Tooth

WISDOM

ARшт.

11

KV15764

End Bit

9" STANDARD, WHOLEGOODS

1шт.

End Bit

10" STANDARD, WHOLEGOODS ( KV15765 NO LONGER AVAILABLE)

1шт.

KV15766

End Bit

12" STANDARD, WHOLEGOODS

1шт.

KV15767

End Bit

15" STANDARD, WHOLEGOODS

1шт.

KV15768

End Bit

18" STANDARD, WHOLEGOODS

1шт.

KV15769

End Bit

24" STANDARD, WHOLEGOODS

1шт.

KV15770

End Bit

30" STANDARD, WHOLEGOODS

1шт.

KV15771

End Bit

36" STANDARD, WHOLEGOODS

1шт.

12

KV15772

End Bit

18" TREE AND SHRUB, WHOLEGOODS

1шт.

KV15773

End Bit

24" TREE AND SHRUB, WHOLEGOODS

1шт.

KV15774

End Bit

30" TREE AND SHRUB, WHOLEGOODS

1шт.

KV15775

End Bit

36" TREE AND SHRUB, WHOLEGOODS

1шт.

13

KV17858

Tooth

ARшт.

14

KV17863

Tooth

ARшт.

15

KV17862

Tooth

(HOLDER)

1шт.

16

KV15776

End Bit

9" ROCK, WHOLEGOODS

1шт.

KV15777

End Bit

12" ROCK, WHOLEGOODS

1шт.

17

19H3550

Cap Screw

1/2" X 4"

1шт.

18

14H809

Nut

1/2"

1шт.

19

KV15779

Kit

12" EXTENSION (HEX DRIVE), WHOLEGOODS

1шт.

KV15780

Kit

24" EXTENSION (HEX DRIVE), WHOLEGOODS

1шт.

KV15781

Kit

ADAPTER, 2" HEX TO 2.56 ROUND, WHOLEGOODS

1шт.

KV15782

Kit

WHOLEGOODS ADAPTER, 2.56 ROUND TO 2" HEX

1шт.

Выбрано товаров: 30