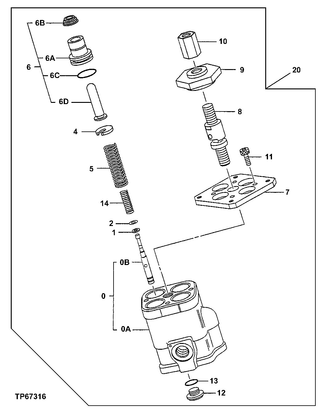
Запчасти John Deere 5ZTS 146 - Pilot Valve (Front, Swing) 3315 CONTROLS LINKAGE

Схема запчастей John Deere 5ZTS - 146 - Pilot Valve (Front, Swing) 3315 CONTROLS LINKAGE
FIT
1:1
100%

Артикул

Название

Примечание

Количество

0

Case

(SUB FOR TH8072519)( 8072519 NLA)

1шт.

0A

Spool

(NOT AVAILABLE)

4шт.

0B

Case

(NOT AVAILABLE)

1шт.

1

4319299

Spacer

(SUB FOR AT215885)

4шт.

2

4662206

Shim

(SUB FOR 4203411)

12шт.

4

4332748

Guide

(SUB FOR AT251967)

4шт.

5

4335049

Compression Spring

(SUB FOR AT251970)

4шт.

6

9134299

Plunger

(SUB FOR TH9134299)

4шт.

6A

AT217942

Bushing

1шт.

6B

4447050

Seal

(SUB FOR 4335047 OR AT215897)

1шт.

6C

CH11562

O-Ring

1шт.

6D

9752460

Mounting Parts

(SUB FOR AT251965 AND 3069401)

1шт.

7

4335045

Plate

(SUB FOR TH4335045)

1шт.

8

4335060

Universal Joint

(SUB FOR AT251971)

1шт.

9

4335044

Cam

(SUB FOR AT251968)

1шт.

10

4335046

Nut

(SUB FOR AT251969)

1шт.

11

19M8553

Screw

M6 X 16

4шт.

12

4208977

Drain Plug

(SUB FOR TH111351)

1шт.

13

CH11561

Packing

1шт.

14

TH4414014

Spring

4шт.

20

9176773

Hyd Actuated Control Valve

(SUB FOR TH9176773)

1шт.

Выбрано товаров: 21