Запчасти John Deere 5ZTS 175 - BLADE CYLINDER 3360 HYDRAULIC SYSTEM

Схема запчастей John Deere 5ZTS - 175 - BLADE CYLINDER 3360 HYDRAULIC SYSTEM
FIT
1:1
100%

Артикул

Название

Примечание

Количество

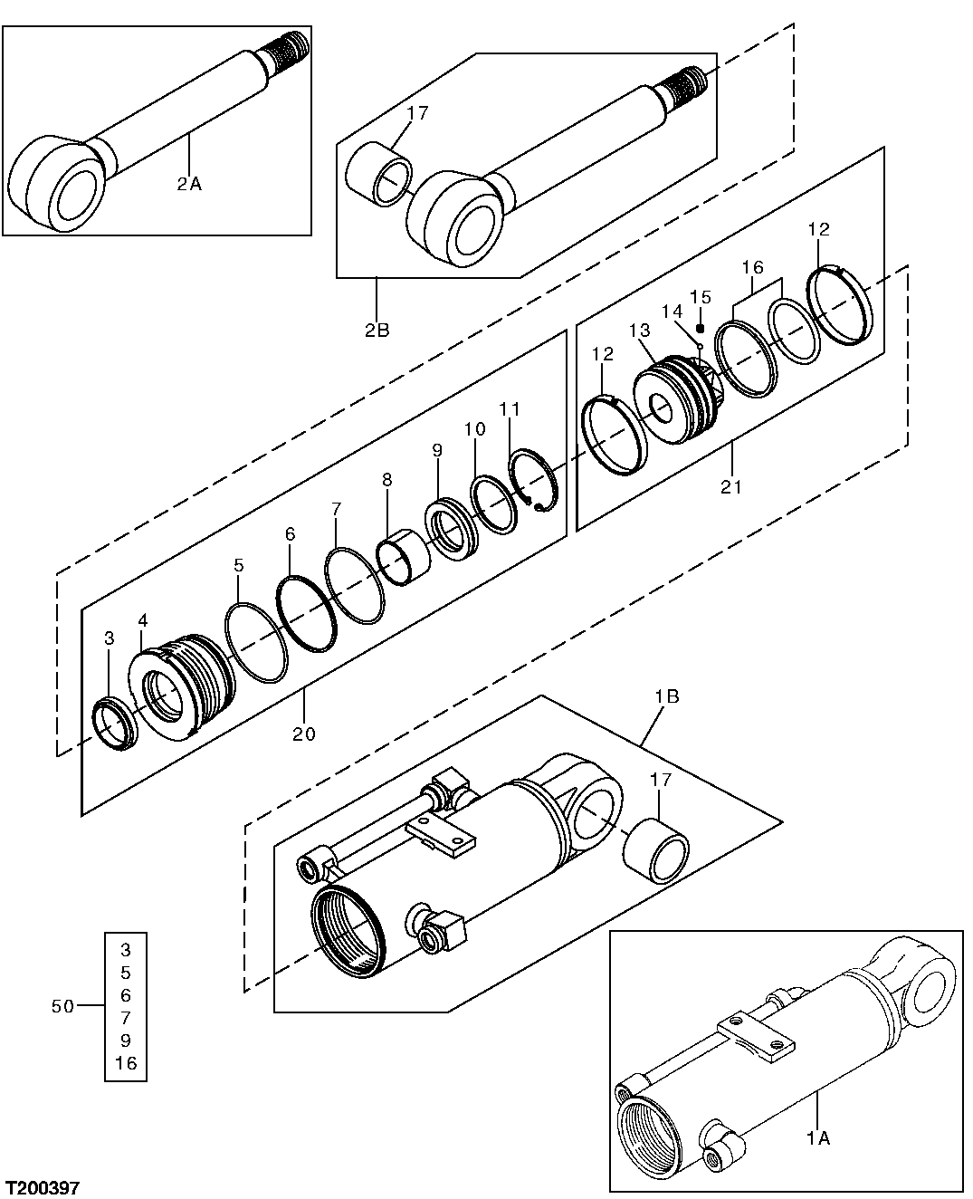
1

0745301

Hydraulic Cylinder Barrel

(SUB FOR TH0745301)

1шт.

1A

Hydraulic Cylinder Barrel

(SUB 0850501)( TH0745301 OR 074530 1 NO LONGER AVAILABLE FOR SERVICE)

1шт.

1B

0850501

Hydraulic Cylinder Barrel

1шт.

2A

Rod

(SUB 0850502)( TH0745302 OR 074530 2 NO LONGER AVAILABLE FOR SERVICE)

1шт.

2B

0850502

Hydraulic Cylinder Rod

1шт.

3

0662901

Seal

(SUB FOR AT251898)

1шт.

4

0745304

Hydr. Cylinder Rod Guide

(SUB FOR TH0745304)

1шт.

5

CH17447

Packing

1шт.

6

0495705

Back-Up Ring

(SUB FOR TH0495705)

1шт.

7

CH18696

Packing

1шт.

8

0843809

Bushing

(SUB FOR AT251760, 0478703)

1шт.

9

0478704

Packing

(SUB FOR TH0478704)

1шт.

10

0481702

Ring

(SUB FOR AT251775)

1шт.

11

0481703

Snap Ring

(SUB FOR AT251776)

1шт.

12

0745307

Wear Ring

(SUB FOR TH0745307)

2шт.

13

0745306

Piston

(SUB FOR TH0745306)

1шт.

14

0370110

Ball

(SUB FOR AT251764, 0478719)

1шт.

15

ER046420

Set Screw

(SUB FOR AT251771 ) (SUB FOR 0479214)

1шт.

16

AT264392

Ring

(SUB FOR TH109376)

1шт.

17

4332744

Bushing

2шт.

20

0745303

Hydr. Cylinder Rod Guide

(SUB FOR TH0745303)

1шт.

21

0745305

Piston

(SUB FOR TH0745305)

1шт.

50

0745308

Hydraulic Cylinder Kit

(SUB FOR TH0745308)

1шт.

Выбрано товаров: 23