Качественные детали и логистика
Оригинальные и аналоговые запчасти с доставкой по России, Казахстану и Беларуси
©2022 PartSell ООО "Система" ИНН 2463123282 ОГРН 1212400004838
Центральный офис: г. Красноярск, Академика Киренского, д.87, пом.4
Телефон: 8 (800) 777-65-74 Email: zakaz@partsell.ru
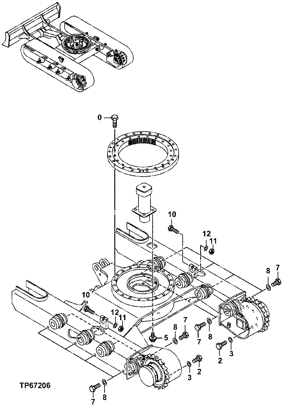
8 - BOLT KIT
№
Артикул
Название
Примечание
Количество
0
19M7753
Cap Screw
M12 X 70
20шт.
2
19M7403
M12 X 35 Swing Motor Mounting
22шт.
3
12M7058
Lock Washer
12 mm Swing Motor Mounting
5
19M7662
M10 X 30
4шт.
12M7066
10 mm
7
4303033
Bolt
(SUB FOR TH4303033) Lower Roller Mounting
16шт.
8
24H1350
Washer
9/16" X 1-1/4" X 0.194 " Lower Roller Mounting
10
19M4789
M14 X 80
2шт.
11
14M7435
Nut
M14
12
12M7068
14 mm
Выбрано товаров: 0