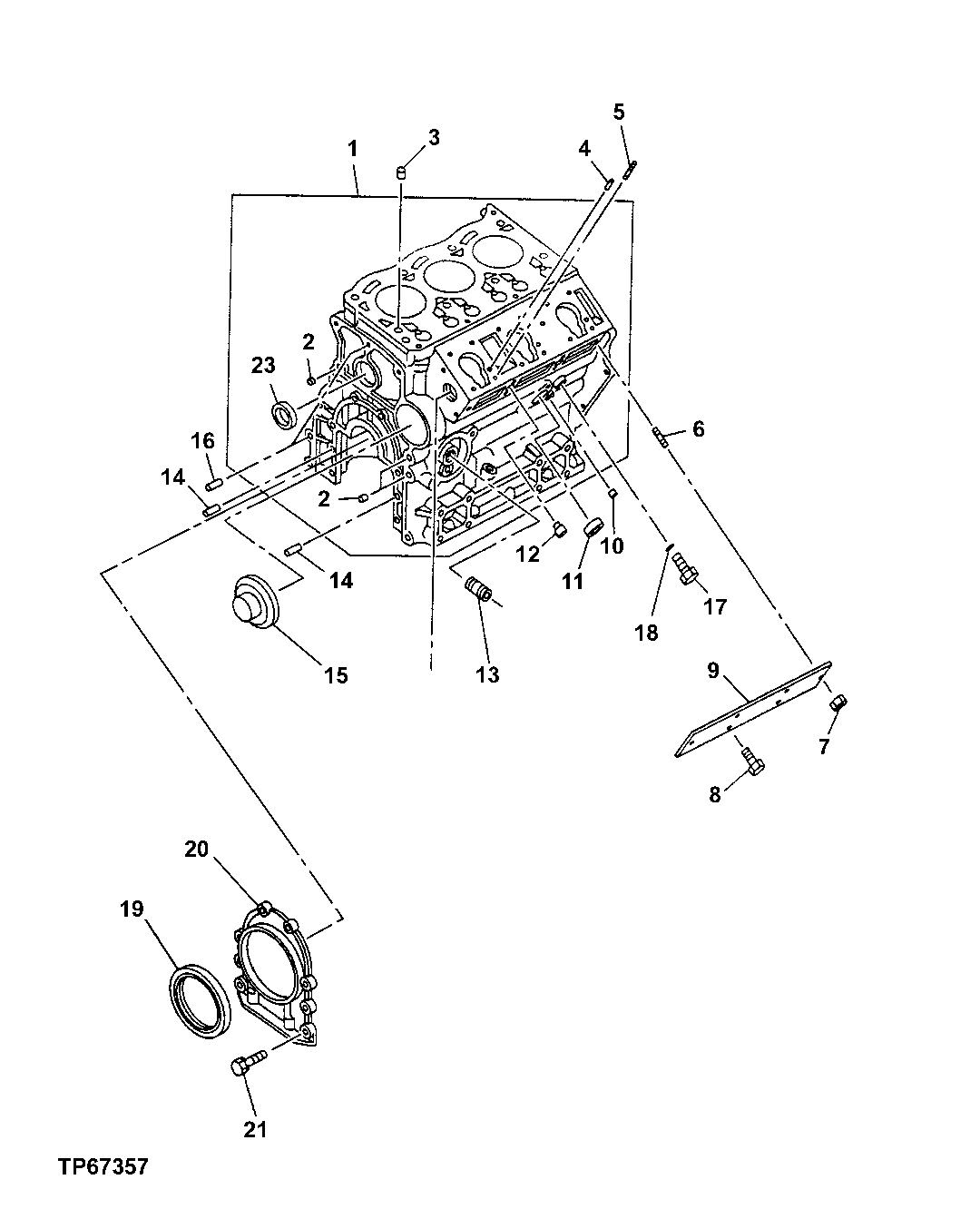
Запчасти John Deere 5ZTS 25 - CYLINDER BLOCK (CONTINUED) 0404 CYLINDER BLOCK

Схема запчастей John Deere 5ZTS - 25 - CYLINDER BLOCK (CONTINUED) 0404 CYLINDER BLOCK
FIT
1:1
100%

Артикул

Название

Примечание

Количество

1

8971691611

Cylinder Block

SUB FOR AT260079 Additional Co mponents Listed On Another Page

1шт.

2

5096000130

Seal

SUB FOR AT254823

2шт.

3

Plug

ARшт.

4

9098785320

Dowel Pin

SUB FOR AT255029

3шт.

5

AT254807

Stud

6шт.

6

8972621481

Stud

M6X19 L=27 SUB FOR AT254862

1шт.

0410106160

Stud

M6X16 L=25 SUB FOR AT255005 OR 8972621471

1шт.

7

AT259944

Nut

2шт.

8

0280806140

Bolt

SUB FOR AT259917

2шт.

9

8971062042

Cover

SUB FOR AT260039

1шт.

10

5096050192

Pipe Plug

SUB FOR AT254812

1шт.

11

1096000122

Plug

SUB FOR AT254809 OR 1096000121

1шт.

12

8970394953

Pin

SUB FOR AT254887

2шт.

13

8943255950

Threaded Nipple

SUB FOR AT254860

1шт.

14

9098780940

Dowel Pin

SUB FOR AT255013

2шт.

15

8970471421

Plug

SUB FOR AT254903

1шт.

16

9081508160

Pin Fastener

SUB FOR AT255014

2шт.

17

8046950

Line

SUB FOR AT154824

1шт.

18

AT255026

O-Ring

1шт.

19

AT254827

Seal

1шт.

20

8972310300

Retainer

SUB FOR 8970447863 AND AT254894

1шт.

21

0280806200

Bolt

SUB FOR AT259919

6шт.

23

8942298530

Plug

SUB FOR AT254851

1шт.

Выбрано товаров: 23