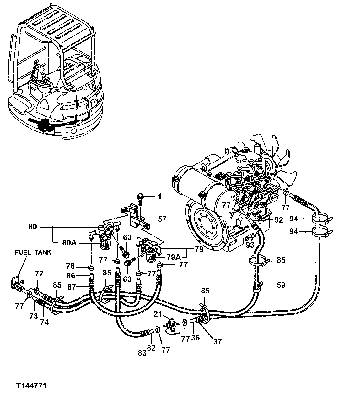
Запчасти John Deere 5ZTS 52 - FUEL PIPINGS 0560 EXTERNAL FUEL SUPPLY SYSTEMS

Схема запчастей John Deere 5ZTS - 52 - FUEL PIPINGS 0560 EXTERNAL FUEL SUPPLY SYSTEMS
FIT
1:1
100%

Артикул

Название

Примечание

Количество

1

19M7938

Cap Screw

M10 X 20

2шт.

24M7096

Washer

10.500 X 18 X 1.600 mm

2шт.

24M7096

Washer

10.500 X 18 X 1.600 mm

2шт.

21

8971491820

Fuel Pump

SUB FOR AT254967

1шт.

36

4453954

Hose

SUB FOR TH4427935, TH4330719, 43 30719, 4289001, 4428402, 4288094 OR 4348306; CUT TO 1300 MM LENGTH

1шт.

37

4348600

Tube

SUB FOR TH4427941, 4427941 OR 4349492

1шт.

57

9753275

Bracket

SUB FOR TH9753275

1шт.

59

R73384

Clamp

SUB FOR TH108597 OR 4190253

1шт.

63

19M7663

Cap Screw

M8 X 70

2шт.

24M7055

Washer

8.400 X 16 X 1.600 mm

2шт.

Washer

12M7065 NLA

2шт.

73

4453954

Hose

SUB FOR TH4427932, TH4330719, 43 30719, 4289001, 4428402, 4288094 OR 4348306; CUT TO 220 MM LENGTH

1шт.

74

4348600

Tube

SUB FOR TH4429412 OR TH4330718 OR 43307 18 OR 4319951 OR 4288098 OR 4446067 OR 4 334445 OR 4349492; CUT TO 500 MM LENGTH

1шт.

77

4339258

Hose Clamp

SUB FOR AT251236

10шт.

79

8970862453

Filter

SUB FOR AT254924; WATER SEPARATOR

1шт.

79A

8943602540

Filter Element

SUB FOR 4418776; SUB FOR AT251519

1шт.

80

8971363192

Filter

SUB FOR AT260062, 8971363191

1шт.

80A

8970713480

Filter Element

SUB FOR AT256025; SUB FOR 4454529

1шт.

82

Hose

CUT TO LENGTH FROM TY22324 BULK MATERIAL

1шт.

83

4400458

Hose Guard

SUB FOR TH4427938, 4427938 OR 4422674

1шт.

85

H77698

Tie Band

4шт.

86

4453954

Hose

SUB FOR TH4427933, TH4330719, 43 30719, 4289001, 4428402, 4288094 OR 4348306; CUT TO 400 MM LENGTH

1шт.

87

4427939

Hose Guard

SUB FOR TH4427939

1шт.

92

4427937

Hose

SUB FOR TH4427937

1шт.

93

4427943

Conduit

SUB FOR TH4427943

1шт.

94

H77698

Tie Band

2шт.

Выбрано товаров: 26