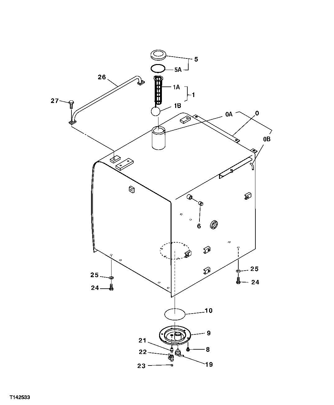
Запчасти John Deere 50CLC 92 - Fuel Tank, Filler Cap and Mounting 0560 EXTERNAL FUEL SUPPLY SYSTEMS

Схема запчастей John Deere 50CLC - 92 - Fuel Tank, Filler Cap and Mounting 0560 EXTERNAL FUEL SUPPLY SYSTEMS
FIT
1:1
100%

Артикул

Название

Примечание

Количество

0

5007928J

Fuel Tank

SUB FOR TH5007928 OR 5007928

1шт.

0A

Structural Tube

P61733 NLA

1шт.

0B

Pipe

P61614 NLA

1шт.

1

4353560

Strainer

SUB FOR AT213970

1шт.

1A

4121496

Fuel Filter

SUB FOR TH100509

1шт.

1B

4353560

Strainer

SUB FOR AT213970

1шт.

5

4361638

Cap

KEY LOCKABLE, ORDER KEY SEPARATELY

1шт.

AT323462

Filler Cap

Can Be Locked With Padlock Padlock No t Included SUB FOR AT175989 OR 4361638

1шт.

5A

4168820

Packing

SUB FOR TH103384

1шт.

6

94-2024

Fitting Plug

SUB FOR TH101292

1шт.

8

19M7938

Cap Screw

M10 X 20

6шт.

12M7066

Lock Washer

10 mm

6шт.

9

8067496

Cover

SUB FOR AT177828

1шт.

10

TH100679

O-Ring

1шт.

19

9756931

Line

SUB FOR TH9756931

1шт.

21

94-1901

Adapter Fitting

SUB FOR TH102106

1шт.

22

4374265

Drain Valve

SUB FOR AT177419

1шт.

23

942011

Fitting Plug

SUB FOR 94-2011 AND TH100434

1шт.

24

19M7488

Cap Screw

M16 X 40

8шт.

25

4114405

Washer

SUB FOR TH101105

8шт.

26

9747821

Handrail

SUB FOR AT217042

1шт.

27

12M7058

Lock Washer

12 mm SUB FOR 12M7067

2шт.

19M8011

Cap Screw

M12 X 30

2шт.

24H1748

Washer

1/2" X 1-1/4" X 0.105"

2шт.

Выбрано товаров: 24