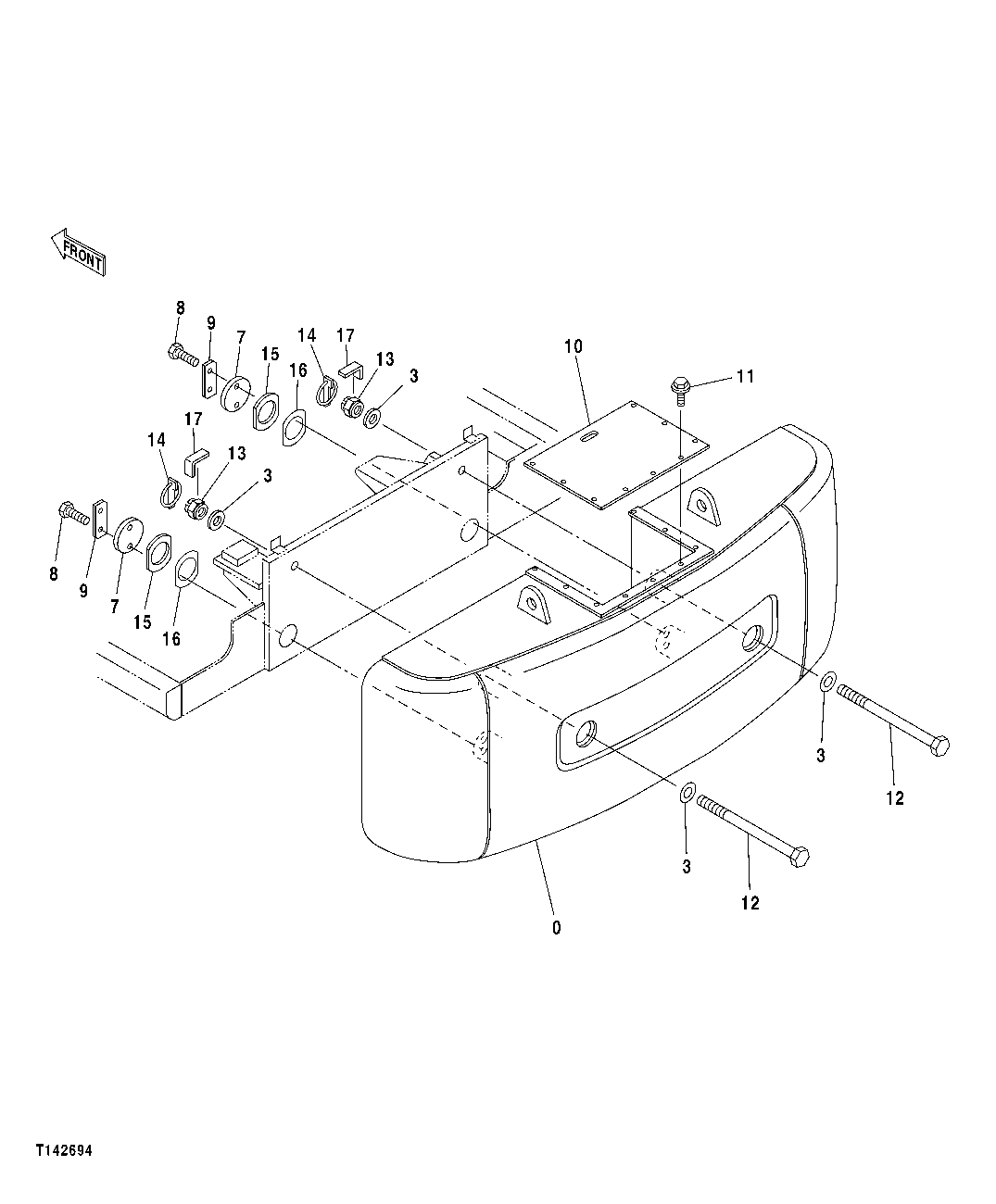
Запчасти John Deere 50CLC 123 - COUNTERWEIGHT 1740 FRAME INSTALLATION

Схема запчастей John Deere 50CLC - 123 - COUNTERWEIGHT 1740 FRAME INSTALLATION
FIT
1:1
100%

Артикул

Название

Примечание

Количество

0

5007849

Counterweight

SUB FOR TH5007849

1шт.

3

4103743

Bushing

SUB FOR AT131690

4шт.

7

4270269

Spacer

SUB FOR AT201731

2шт.

8

J912455

Bolt

SUB FOR AT131548

4шт.

9

4070952

Strap

SUB FOR AT131678

2шт.

10

4338256

Cover

SUB FOR AT201813

1шт.

11

19M7932

Cap Screw

M8 X 16

9шт.

Washer

12M7065 NLA

9шт.

12

4341856

Cap Screw

SUB FOR AT202396

2шт.

13

4246150

Nut

SUB FOR AT132682

2шт.

14

9701925

Quick Lock Pin

SUB FOR AT132681

2шт.

15

4207762

Washer

SUB FOR AT131842

4шт.

16

4207763

Shim

SUB FOR AT131843

2шт.

17

4345741

Shim

SUB FOR AT202397

2шт.

Выбрано товаров: 14