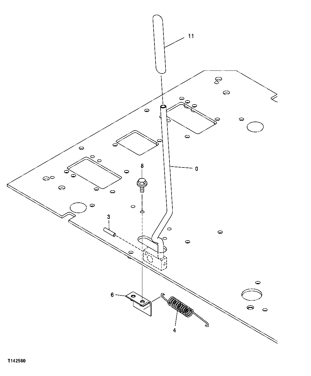
Запчасти John Deere 50CLC 225 - PILOT SYSTEM SHUTOFF LEVER 3315 CONTROLS LINKAGE

Схема запчастей John Deere 50CLC - 225 - PILOT SYSTEM SHUTOFF LEVER 3315 CONTROLS LINKAGE
FIT
1:1
100%

Артикул

Название

Примечание

Количество

0

7035503

Lever

(SUB FOR TH7035503)

1шт.

3

4116310

Spring Pin

(SUB FOR TH4116310)

1шт.

4

4189184

Extension Spring

(SUB FOR TH108392)

1шт.

6

8073901

Bracket

(SUB FOR TH8073901)

1шт.

8

19M7662

Cap Screw

M10 X 30

2шт.

12M7066

Lock Washer

10 mm

2шт.

24M7028

Washer

10.500 X 20 X 2 mm

2шт.

11

3089848

Grip

(SUB FOR TH3089848)

1шт.

Выбрано товаров: 8