Запчасти John Deere 50CLC 238 - BOOM COMPONENTS 3344 BOOM

Схема запчастей John Deere 50CLC - 238 - BOOM COMPONENTS 3344 BOOM
FIT
1:1
100%

Артикул

Название

Примечание

Количество

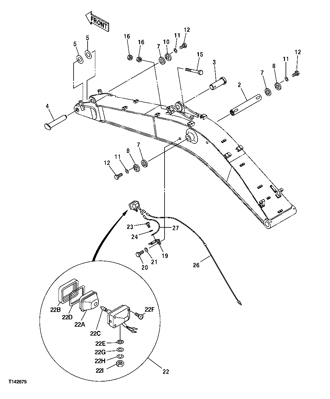
2

AT131630

Pin

1шт.

3

AT128428

Pin Fastener

1шт.

4

AT132098

Pin

1шт.

5

4232239R

Shim

SUB FOR 4232239

2шт.

7

4040931

Washer

SUB FOR AT131672

3шт.

8

4117700

Spacer

SUB FOR AT131693

2шт.

10

4206989

Washer

SUB FOR AT131805

1шт.

11

12M7070

Lock Washer

20 mm

11шт.

12

19M7597

Cap Screw

M20 X 50 SUB FOR J912050

11шт.

15

19M8100

Cap Screw

M20 X 180

1шт.

16

14M7277

Nut

M20

2шт.

19

4224631

Angle

SUB FOR TH111685

1шт.

20

J901425

Cap Screw

SUB FOR TH104071

1шт.

21

12H317

Lock Washer

9/16"

1шт.

22

4326800

Lamp

SUB FOR 4336570

1шт.

22A

4326801

Lens

1шт.

22B

4326802

Frame

1шт.

22C

AT135758

Bulb

1шт.

22D

4326803

Gasket

1шт.

22E

4307026

Washer

1шт.

22F

37H19

Screw

SUB FOR 4307027

4шт.

22G

24M7085

Washer

15 X 28 X 2.500 mm

1шт.

22H

12H317

Lock Washer

9/16"

1шт.

22I

14M7345

Nut

M14 SUB FOR J952014

1шт.

23

21M7288

Screw

M6 X 10

1шт.

24

12M7006

Lock Washer

6 mm

1шт.

26

4299948

Wiring Harness

SUB FOR AT201736 OR 4271787

1шт.

27

4271788

Wiring Harness

SUB FOR AT202117

1шт.

Выбрано товаров: 28