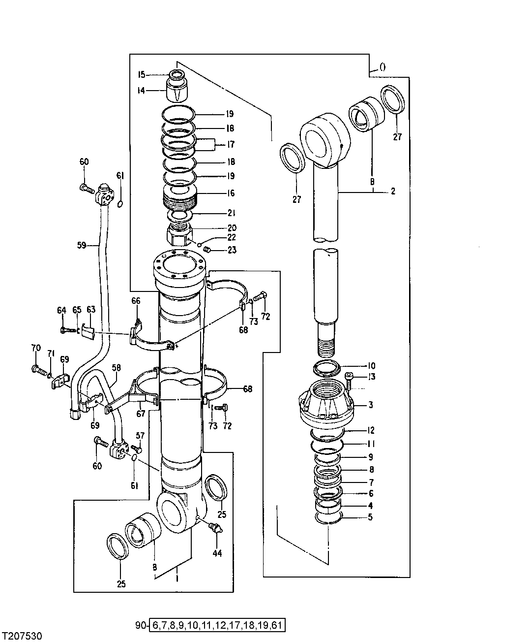
Запчасти John Deere 50CLC 248 - Right Boom Cylinder Components (091287 - ) 3360 HYDRAULIC SYSTEM

Схема запчастей John Deere 50CLC - 248 - Right Boom Cylinder Components (091287 - ) 3360 HYDRAULIC SYSTEM
FIT
1:1
100%

Артикул

Название

Примечание

Количество

0

4340511

Hydraulic Cylinder

SUB FOR 4340511EX

1шт.

1

0420101

Hydraulic Cylinder Barrel

1шт.

Cylinder Reman

PG201235 NLA, ORDER 0420101, REMAN

1шт.

1B

4609090

Bushing

SUB FOR 0420112

1шт.

2

0420103

Rod

1шт.

2B

4S00897

Bushing

SUB FOR 0420104

1шт.

3

0420105

Cylinder Head

1шт.

4

0352704

Bushing

1шт.

5

0133103

Snap Ring

1шт.

6

AT132284

Ring

SUB FOR 0352705

1шт.

7

AT132285

Seal

SUB FOR 0352706

1шт.

8

AT132286

Back-Up Ring

SUB FOR 0352707

1шт.

9

0460004

Ring

1шт.

10

AT191197

Ring

SUB FOR 4438200

1шт.

11

A811160

O-Ring

1шт.

12

AT264252

Back-Up Ring

SUB FOR 4170546 AND AT132399

1шт.

13

0191412

Bolt

SUB FOR 0352716

8шт.

14

0420106

Bearing

1шт.

15

0420113

Seal

1шт.

16

FXB00012870

Piston

SUB FOR 0420108

1шт.

17

AT264253

Ring

SUB FOR 4170547 AND AT132400

1шт.

18

AT264289

Ring

SUB FOR 0420109 AND AT201577

2шт.

19

0259307

Ring

SUB FOR 0259307

2шт.

20

0352713

Nut

1шт.

21

0352714

Shim

1шт.

22

R26552

Ball

7.938 mm (5/16") SUB FOR 0104404

1шт.

23

H228111

Set Screw

SUB FOR 0352715

1шт.

25

AT201578

Ring

SUB FOR 0420110

2шт.

27

0420111

Ring

SUB FOR 4S00853

2шт.

44

J75481

Fitting

1шт.

57

19M8448

Screw

M12 X 35

4шт.

58

Pipe

Units Built Before February 2 003 ORDER 0942407 AND 19M8448

1шт.

0942407

Line

Units Built February 2003 And After USE WITH 19M8448

1шт.

59

Pipe

0352718 NLA Units Built Before Febr uary 2003 ORDER 0420114 AND 19M8448

1шт.

0420114

Pipe

Units Built February 2003 A nd After ALSO ORDER 19M8448

1шт.

60

M800636

Screw

M12 X 55 Units Built Before February 2003

8шт.

19M8448

Screw

M12 X 35 Units Built F ebruary 2003 And After

8шт.

61

AT264348

O-Ring

2шт.

63

0309219J

Half Clamp

SUB FOR 0309219

1шт.

64

19M7273

Cap Screw

M12 X 60 Units Built Before February 2 003 SUB FOR 19M7273, 0237417 OR 0224115

1шт.

19M8348

Cap Screw

M12 X 65 Units Built F ebruary 2003 And After

1шт.

65

12M7058

Lock Washer

12 mm

1шт.

66

Band

0352719 NLA Units Buil t Before February 2003

1шт.

0875612

Half Clamp

Units Built February 2003 And After

1шт.

67

0352720

Band

1шт.

68

0352721

Band

2шт.

69

0236915J

Holder

SUB FOR 0236915

2шт.

70

19M7291

Cap Screw

M14 X 90 SUB FOR 0236916

1шт.

71

12H317

Lock Washer

9/16" SUB FOR A590914

1шт.

72

19M7550

Cap Screw

M10 X 35 SUB FOR 0408815 OR AT153924

4шт.

73

12M7066

Lock Washer

10 mm SUB FOR 0325913

4шт.

90

4340620

Seal Kit

SUB FOR AT196471, AT201835 OR 4438672

1шт.

Выбрано товаров: 52