Запчасти John Deere 50CLC 15 - 1101 ROCKER ARM COVER 0400 Engine 6125HT001-RG29624 6125HT001

Схема запчастей John Deere 50CLC - 15 - 1101 ROCKER ARM COVER 0400 Engine 6125HT001-RG29624 6125HT001
FIT
1:1
100%

Артикул

Название

Примечание

Количество

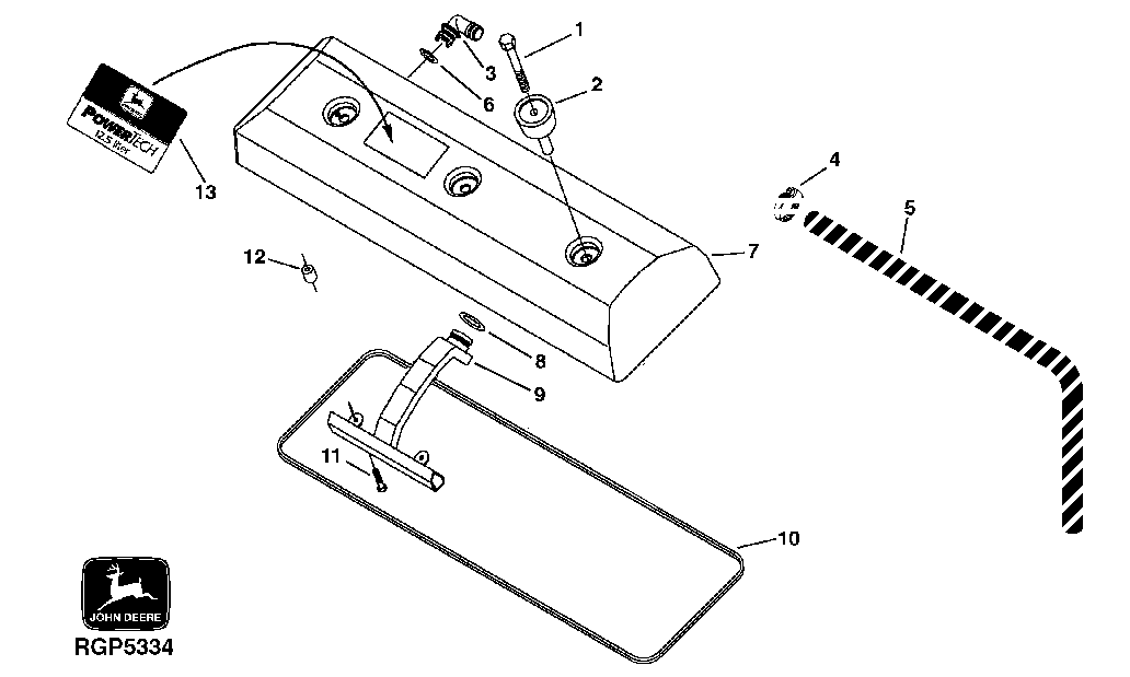
1

19M8039

Screw

M8 X 80

3шт.

2

RE71265

Isolator

3шт.

3

R120467

Elbow Fitting

1шт.

4

TY22467

Clamp

1шт.

5

R504817

Hose

(VENT)

1шт.

6

R72328

O-Ring

1шт.

7

R505450

Valve Cover

1шт.

8

R63185

O-Ring

1шт.

9

RE66329

Deflector

1шт.

10

R505677

Gasket

(USE WITH R116843 ) (SUB FOR R130738)

1шт.

R502124

Gasket

(USE WITH R505450 ) (SUB FOR R130738)

1шт.

11

R130091

Screw

M6 X 12

2шт.

12

R501292

Grommet

2шт.

13

R132985

Medallion

1шт.

Выбрано товаров: 14